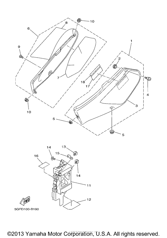
Боковая крышка
Боковая крышка
サイドカバーアセンブリ WG (Ref #1)
1
Part #4GY-Y2171-H0-00
GROMMET (Ref #2)
2
Part #90480-13018-00
Графика (Ref #3)
3
Part #4RR-2173E-30-00
Винт с круглой головкой (Ref #4)
4
Part #90150-06036-00
GROMMET (Ref #5)
5
Part #90480-12320-00
GROMMET (Ref #5)
5
Part #90480-12320-00
GROMMET (Ref #5)
5
Part #90480-12320-00
GROMMET (Ref #5)
5
Part #90480-12320-00
Крышка боковая (Ref #6)
6
Part #4GY-Y2172-G0-00
Insulator, Side Cover (Ref #7)
7
Part #4GY-2174A-00-00
Графика (Ref #8)
8
Part #4RR-2173F-30-00
Винт с круглой головкой (Ref #9)
9
Part #90150-06810-00
Box, battery (Ref #11)
11
Part #4GY-2177G-00-00
Insulator, Side Cover 2 (Ref #12)
12
Part #4GY-2174T-00-00
BOLT (Ref #13)
13
Part #97017-06012-00
Screw, With Washer (Ref #14)
14
Part #901-19062-42-00
Screw, With Washer (Ref #14)
14
Part #901-19062-42-00
Screw, With Washer (Ref #14)
14
Part #901-19062-42-00
Screw, With Washer (Ref #14)
14
Part #901-19062-42-00
Hook, battery band (Ref #15)
15
Part #4GY-21365-00-00
Seat, Battery (Ref #16)
16
Part #4GY-82123-00-00
Plate, Epa 3(California) (Ref #17)
17
Part #5GF-2179T-30-00
Plate, Epa (Ref #18)
18
Part #5GF-2179X-00-00
-
14GY-Y2171-G0-00
Крышка боковая
1Replaced by 4GY-Y2171-H0-00 Доступно: Нет в наличии
-
990150-06021-00
Винт с круглой головкой
1Replaced by 90150-06810-00 Доступно: Нет в наличии
-
1490119-06094-00
Screw, With Washer
2Replaced by 901-19062-42-00 Доступно: Нет в наличии
