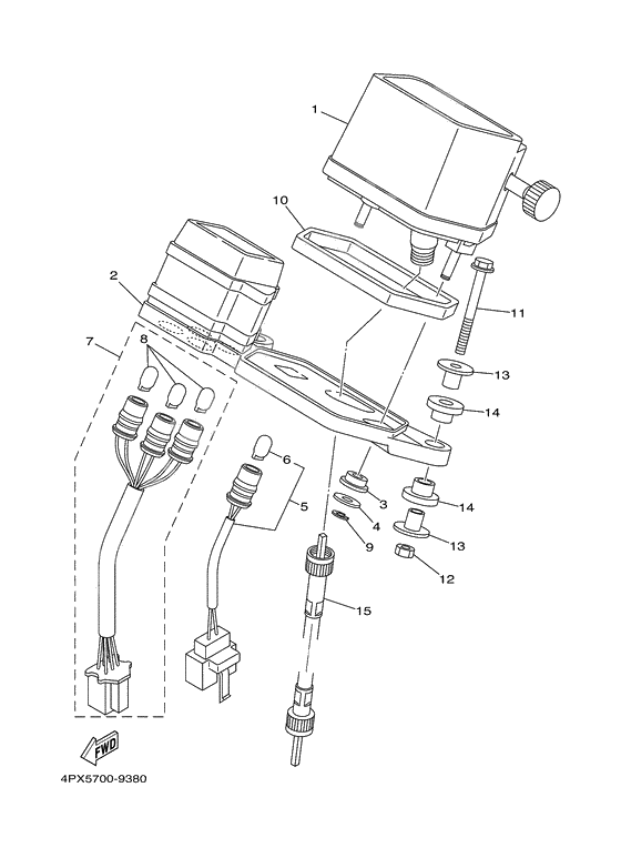
Compteur

Compteur

Compteur
+ -
  • 01
    4PX-83580-00-00

    Панель измерителей

    1
    Доступно: Нет в наличии
  • 02
    4PX-8355A-00-00

    Кронштейн измерительных приборов

    1
    Доступно: Нет в наличии
  • 03
    3XP-83526-00-00

    Амортизатор

    2
    Доступно: Нет в наличии
  • 04
    90201-05033-00

    Washer, Plate

    2
    Доступно: Нет в наличии
  • 05
    4PX-83520-00-00

    Кабель с вборе

    1
    Доступно: Нет в наличии
  • 06
    123-83516-20-00

    Bulb

    1
    Replaced by 123-83516-21-XX Доступно: Нет в наличии
  • 06
    123-83516-21-XX

    Bulb (12v3.4w)

    1
    Доступно: Нет в наличии
  • 07
    4PX-83520-10-00

    Кабель с вборе

    1
    Доступно: Нет в наличии
  • 09
    3XP-83525-00-00

    CLIP

    2
    Replaced by 90468-10050-00 Доступно: Нет в наличии
  • 09
    90468-10050-00

    Clip (156-83525-00)

    2
    Доступно: Нет в наличии
  • 10
    3XP-83513-00-00

    Амортизатор

    1
    Доступно: Нет в наличии
  • 11
    95817-06055-00

    Screw, With Washer

    2
    Доступно: Нет в наличии
  • 11
    95807-06055-00

    BOLT

    2
    Replaced by 95817-06055-00 Доступно: Нет в наличии
  • 12
    95607-06200-00

    Гайка, самоблокирующаяся

    2
    Replaced by 95604-06200-00 Доступно: Нет в наличии
  • 12
    95604-06200-00

    Гайка, самоблокирующаяся

    2
    Доступно: Нет в наличии
  • 13
    90387-067W9-00

    COLLAR

    4
    Доступно: Нет в наличии
  • 14
    90480-10632-00

    GROMMET

    4
    Доступно: Нет в наличии
  • 15
    4PX-83550-01-00

    Кабель спидометра

    1
    Доступно: Нет в наличии
  • 15
    4PX-83550-00-00

    Кабель спидометра

    1
    Replaced by 4PX-83550-01-00 Доступно: Нет в наличии