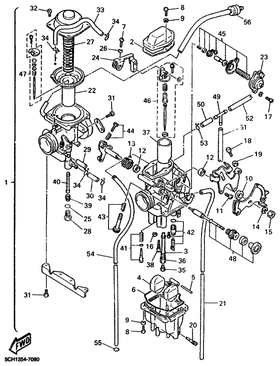
Carburetor
Carburetor
-
05689-14386-00-00
Штифт плавающий
1Replaced by 6E5-14386-01-00 Доступно: Нет в наличии
-
0898501-04014-00
Screw, Pan Head
6Replaced by 98580-04014-00 Доступно: Нет в наличии
-
125Y1-14752-00-00
Труба выхлопная
2Replaced by 5Y1-14752-01-00 Доступно: Нет в наличии
-
1798501-04010-00
Screw, Pan Head
2Replaced by 98580-04010-00 Доступно: Нет в наличии
-
223GV-14940-00-00
DIAPHRAGM ASSY
1Replaced by 3GV-14940-01-00 Доступно: Нет в наличии
-
3198501-05010-00
Screw, Pan Head
6Replaced by 97885-05010-00 Доступно: Нет в наличии
-
35288-14343-78-00
Jet, Main (156)
1Replaced by 288-14329-78-00 Доступно: Нет в наличии
-
35288-14343-75-00
Jet, Main (150)
1Replaced by 288-14329-75-00 Доступно: Нет в наличии
-
482KF-1410A-00-00
Plunger, Starter
1Replaced by 2KF-14371-01-00 Доступно: Нет в наличии
