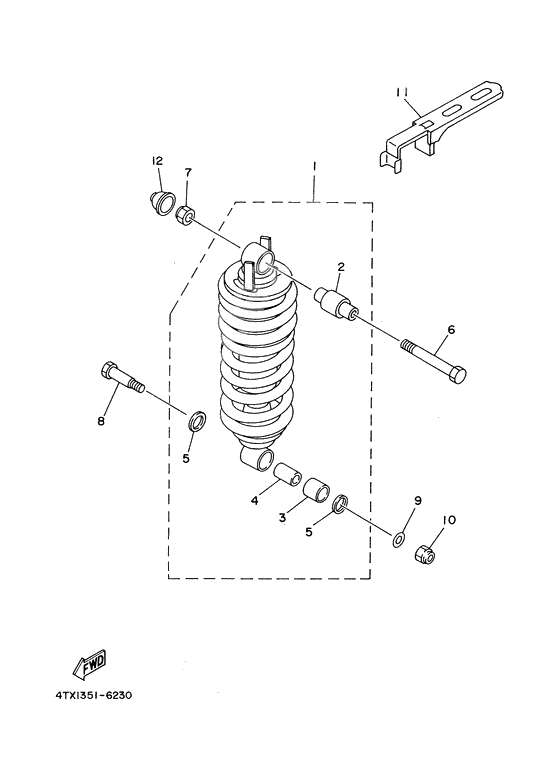
Rear suspension

Rear suspension

Rear suspension
+ -
  • 01
    4TX-22210-00-00

    Shock Absorber Assy, Rear

    1
    Доступно: Нет в наличии
  • 02
    3VD-22216-00-00

    GROMMET

    1
    Replaced by 5JW-22216-00-00 Доступно: Нет в наличии
  • 02
    5JW-22216-00-00

    Втулка амортизатора

    1
    Доступно: Нет в наличии
  • 03
    90384-18190-00

    GROMMET

    1
    Доступно: Нет в наличии
  • 04
    999-99999-99-00

    Крышка картера 2

    1
    Доступно: Нет в наличии
  • 04
    903-87127-X0-00

    Collar (3Vd)

    1
    Replaced by 999-99999-99-00 Доступно: Нет в наличии
  • 05
    93109-18020-00

    Oil seal

    2
    Доступно: Нет в наличии
  • 06
    90109-125F1-00

    Болт

    1
    Доступно: Нет в наличии
  • 07
    95607-12100-00

    Гайка U

    1
    Replaced by 95617-12100-00 Доступно: Нет в наличии
  • 07
    95617-12100-00

    Гайка U

    1
    Доступно: Нет в наличии
  • 08
    90101-10659-00

    BOLT

    1
    Доступно: Нет в наличии
  • 09
    90201-124G9-00

    Шайба

    1
    Доступно: Нет в наличии
  • 10
    95617-10100-00

    Гайка U

    1
    Доступно: Нет в наличии
  • 11
    3VD-22464-00-00

    Knob, Control

    1
    Доступно: Нет в наличии
  • 12
    10V-83365-00-00

    CAP

    1
    Доступно: Нет в наличии