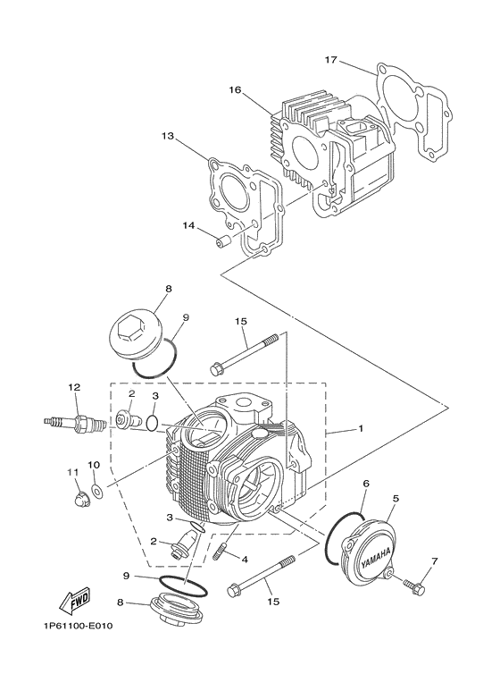
Cylinder head
Cylinder head
-
011P6-W1102-00-00
Блок цилиндров
1Replaced by 1P6-W1102-01-00 Доступно: Нет в наличии
-
0393210-09802-00
Кольцо уплотнительное
2Replaced by 93210-09418-00 Доступно: Нет в наличии
-
081P6-E1186-00-00
Крышка цилиндра 2
2Replaced by 22F-11186-10-00 Доступно: Нет в наличии
-
0993210-44889-00
Washer, Needle Valve
2Replaced by 93210-44704-00 Доступно: Нет в наличии
-
1294701-00366-00
Plug, Spark (Ngk Cr7Hsa)
1Replaced by CR7-HSA00-00-00 Доступно: Нет в наличии
