Side cover
Side cover
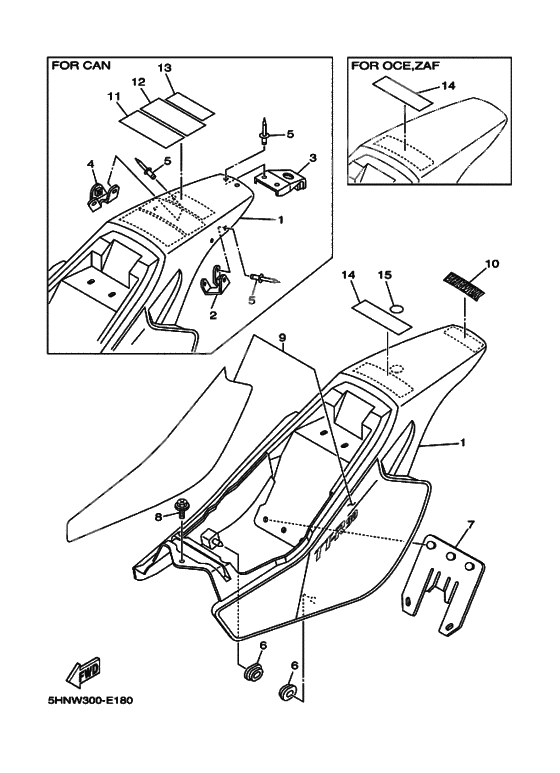
サイドカバーアセンブリ WG (Ref #1)
1
Part #5HN-21711-10-00
サイドカバーアセンブリ WG (Ref #1)
1
Part #5HN-21711-10-00
サイドカバーアセンブリ WG (Ref #1)
1
Part #5HN-21711-10-00
サイドカバーアセンブリ WG (Ref #1)
1
Part #5HN-21711-10-00
Bracket 1 (Ref #2)
2
Part #21W-2172K-00-00
Bracket 2 (Ref #3)
3
Part #21W-2172L-00-00
Bracket 3 (Ref #4)
4
Part #21W-2172M-00-00
GROMMET (Ref #6)
6
Part #90480-01558-00
GROMMET (Ref #6)
6
Part #90480-01558-00
GROMMET (Ref #6)
6
Part #90480-01558-00
GROMMET (Ref #6)
6
Part #90480-01558-00
FLAP (Ref #7)
7
Part #4V0-21621-00-00
Screw, Pan Head With (Ref #8)
8
Part #90159-06078-00
Graphic Set 1 (Ref #9)
9
Part #5HN-2173L-60-00
Emblem (Ref #10)
10
Part #4ES-2153E-01-00
Наклейка предупредительная (Ref #11)
11
Part #3PT-2118K-A1-00
Label, caution (Ref #12)
12
Part #3PT-2118K-B0-00
Наклейка предупредительная (CANADA) (Ref #13)
13
Part #3PT-2416E-10-00
-
590267-40075-00
. HOLDER, CLAMP BAND
6Replaced by 90267-40080-00 Доступно: Нет в наличии
-
113PT-2118K-A0-00
Label, caution
1Replaced by 3PT-2118K-A1-00 Доступно: Нет в наличии
