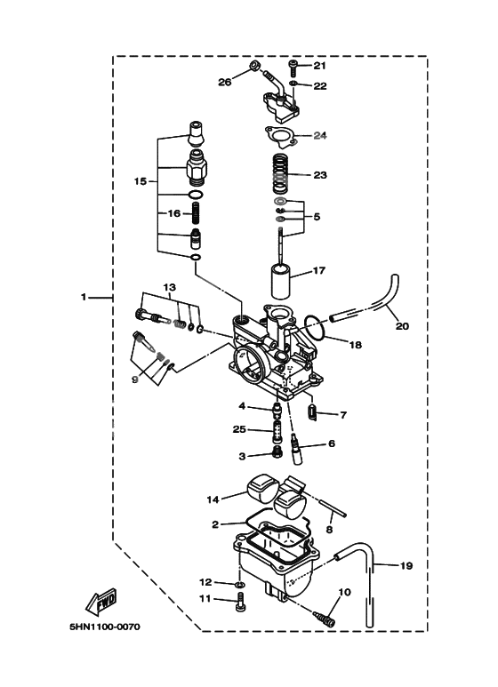
Carburetor assy
Carburetor assy
CARBURETOR ASSY (Ref #1)
1
Part #5HN-14101-01-00
Валик (Ref #2)
2
Part #4GL-14239-00-00
Jet, main (#90) (Ref #3)
3
Part #18A-14143-18-00
Распылитель главный (Ref #4)
4
Part #5HN-14141-13-00
Needle set (Ref #5)
5
Part #5HN-1490J-00-00
Жиклерпроводник (Ref #6)
6
Part #3KD-14142-12-00
. . VALVE, CHECK (Ref #7)
7
Part #7LG-14150-11-00
Штифт плавающий (Ref #8)
8
Part #353-14186-00-00
Screw, Pan Head (Ref #9)
9
Part #4GL-14104-00-00
Заглушка дренажная (Ref #10)
10
Part #12R-14191-00-00
Screw, Pan Head (Ref #11)
11
Part #98507-04014-00
Шайба, стопорная (Ref #12)
12
Part #92907-04100-00
Throttle Screw Set (Ref #13)
13
Part #4GL-14103-00-00
. FLOAT (Ref #14)
14
Part #5HN-14985-00-00
Starter Set (Ref #15)
15
Part #5HN-1410A-00-00
Пружина распылителя (Ref #16)
16
Part #5HN-14135-00-00
Клапан дросселя 1 (Ref #17)
17
Part #5HN-14112-25-00
Washer, Needle Valve (Ref #18)
18
Part #241-14147-00-00
Pipe 1 (Ref #19)
19
Part #4GL-14348-00-00
HOSE (Ref #20)
20
Part #5HN-14987-00-00
Screw, Pan Head (Ref #21)
21
Part #98517-04012-00
Spring, Pilot Adjusting (Ref #23)
23
Part #4NM-14275-00-00
Washer, Needle Valve (Ref #24)
24
Part #4NM-14198-00-00
Pipe (Ref #25)
25
Part #5HN-14148-00-00
Гайка кабеля (Ref #26)
26
Part #522-14161-00-00
-
2198507-04012-00
Screw, Pan Head
2Replaced by 98517-04012-00 Доступно: Нет в наличии
