Side cover
Side cover
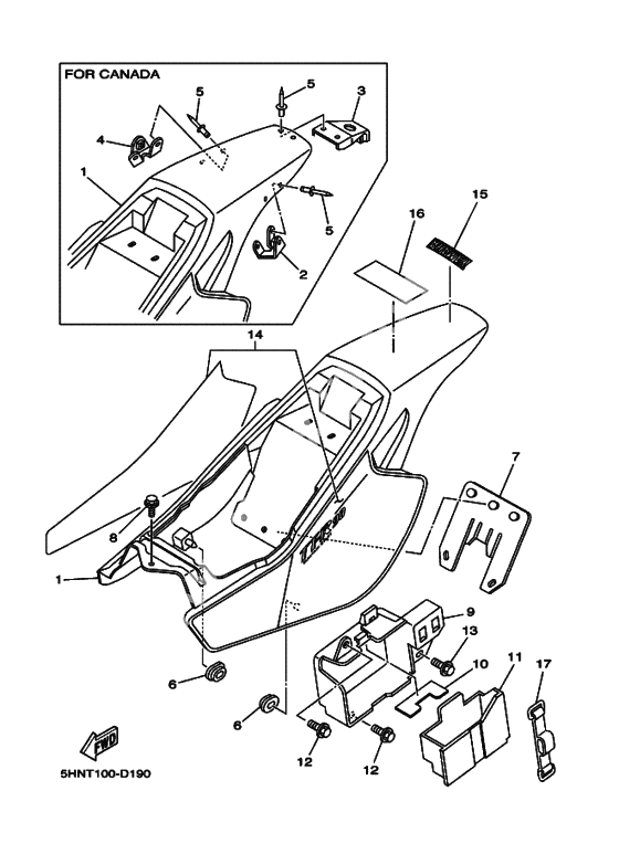
サイドカバーアセンブリ WG (Ref #1)
1
Part #5HN-21711-10-00
サイドカバーアセンブリ WG (Ref #1)
1
Part #5HN-21711-10-00
サイドカバーアセンブリ WG (Ref #1)
1
Part #5HN-21711-10-00
サイドカバーアセンブリ WG (Ref #1)
1
Part #5HN-21711-10-00
Bracket 1 (Ref #2)
2
Part #21W-2172K-00-00
Bracket 2 (Ref #3)
3
Part #21W-2172L-00-00
Bracket 3 (Ref #4)
4
Part #21W-2172M-00-00
GROMMET (Ref #6)
6
Part #90480-01558-00
GROMMET (Ref #6)
6
Part #90480-01558-00
GROMMET (Ref #6)
6
Part #90480-01558-00
GROMMET (Ref #6)
6
Part #90480-01558-00
FLAP (Ref #7)
7
Part #4V0-21621-00-00
Screw, Pan Head With (Ref #8)
8
Part #90159-06078-00
Коробка аккамулятора (Ref #9)
9
Part #5HN-2177G-00-00
Амортизатор (Ref #10)
10
Part #5HN-21746-00-00
COVER (Ref #11)
11
Part #5HN-2172W-00-00
Screw, With Washer (Ref #12)
12
Part #901-19062-42-00
Screw, With Washer (Ref #12)
12
Part #901-19062-42-00
Screw, With Washer (Ref #12)
12
Part #901-19062-42-00
Screw, With Washer (Ref #12)
12
Part #901-19062-42-00
Screw, With Washer (Ref #13)
13
Part #90119-06118-00
Graphic Set 1 (Ref #14)
14
Part #5HN-2173L-50-00
Emblem (Ref #15)
15
Part #4ES-2153E-01-00
Обвязка, аккумулятор (Ref #17)
17
Part #22F-82131-00-00
-
590267-40075-00
. HOLDER, CLAMP BAND
6Replaced by 90267-40080-00 Доступно: Нет в наличии
-
1290119-06094-00
Screw, With Washer
2Replaced by 901-19062-42-00 Доступно: Нет в наличии
-
1734M-82131-00-00
Комплект аккамулятора
1Replaced by 22F-82131-00-00 Доступно: Нет в наличии
