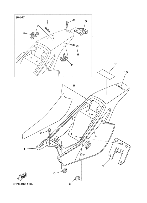
Side cover

Side cover

Side cover
+ -
  • 01
    5HN-21711-10-00

    サイドカバーアセンブリ WG

    1
    Доступно: Нет в наличии
  • 02
    21W-2172K-00-00

    Bracket 1

    1
    Доступно: Нет в наличии
  • 03
    21W-2172L-00-00

    Bracket 2

    1
    Доступно: Нет в наличии
  • 04
    21W-2172M-00-00

    Bracket 3

    1
    Доступно: Нет в наличии
  • 05
    90267-40080-00

    . HOLDER, CLAMP BAND

    1
    Доступно: Нет в наличии
  • 05
    90267-40075-00

    . HOLDER, CLAMP BAND

    1
    Replaced by 90267-40080-00 Доступно: Нет в наличии
  • 06
    90480-01558-00

    GROMMET

    2
    Доступно: Нет в наличии
  • 07
    4V0-21621-00-00

    FLAP

    1
    Доступно: Нет в наличии
  • 08
    90159-06016-00

    Screw, Pan Head With

    1
    Доступно: Нет в наличии
  • 09
    5HN-2173L-00-00

    Graphic Set 1

    1
    Доступно: Нет в наличии
  • 10
    99241-00080-00

    Emblem

    1
    Доступно: Нет в наличии