Коленчатый вал & Поршень
Коленчатый вал & Поршень
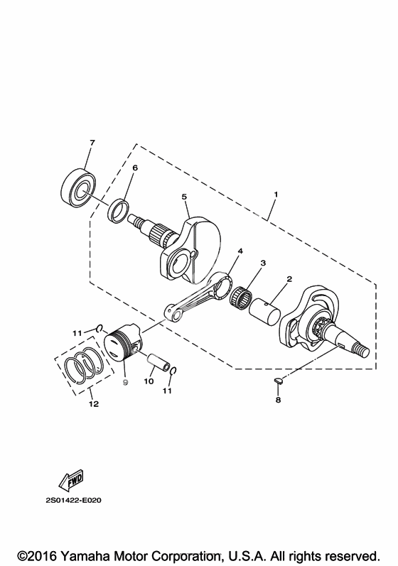
Вал коленчатый в сборе (Ref #1)
1
Part #5TP-WE140-20-00
Палец шатуна (Ref #2)
2
Part #5LM-E1681-00-00
Подшипник шатуна (Ref #3)
3
Part #933-10526-X0-00
шатун (Ref #4)
4
Part #5TN-E1651-02-00
Кривошип 2 (Ref #5)
5
Part #5TP-E1422-00-00
Кольцо (Ref #6)
6
Part #5ER-E1445-00-00
BEARING (Ref #7)
7
Part #93306-205YG-00
KEY,WOODRUFF (Ref #8)
8
Part #90280-03017-00
Поршень (+ 1.00 мм) (Ref #9)
9
Part #3S0-E1638-00-00
Поршень (+ 0.50 мм) (Ref #9)
9
Part #3S0-E1636-00-00
Поршень стандартный (Ref #9)
9
Part #3S0-E1631-00-A0
Палец поршневой (Ref #10)
10
Part #5LM-E1633-00-00
Кольцо стопорное (Ref #11)
11
Part #93450-14088-00
Кольцо стопорное (Ref #11)
11
Part #93450-14088-00
Кольцо стопорное (Ref #11)
11
Part #93450-14088-00
Кольцо стопорное (Ref #11)
11
Part #93450-14088-00
Кольца поршневые стандартные (Ref #12)
12
Part #5TP-E1603-20-00
Кольца поршневые (+ 1.00 мм) (Ref #12)
12
Part #5TP-E1607-00-00
Кольца поршневые (+ 0.50 мм) (Ref #12)
12
Part #5TP-E1605-00-00
-
393310-526Y6-00
Подшипник шатуна
1Replaced by 933-10526-X0-00 Доступно: Нет в наличии
-
125TP-E1605-20-00
Кольца поршневые (+ 0.50 мм)
1Replaced by 5TP-E1605-00-00 Доступно: Нет в наличии
-
125TP-E1607-20-00
Кольца поршневые (+ 1.00 мм)
1Replaced by 5TP-E1607-00-00 Доступно: Нет в наличии
