Starter
Starter
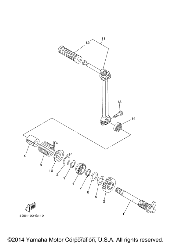
Вал кикстартера (Ref #1)
1
Part #5TP-E5660-00-00
Gear, Kick (Ref #2)
2
Part #5LM-E5641-00-00
CLIP (Ref #3)
3
Part #90468-23194-00
Wheel, Ratchet (Ref #4)
4
Part #296-15671-00-00
Washer, Plate (Ref #5)
5
Part #90206-19027-00
SHIM (Ref #6)
6
Part #296-15644-00-00
Circlip (Ref #7)
7
Part #99009-19400-00
Circlip (Ref #7)
7
Part #99009-19400-00
Circlip (Ref #7)
7
Part #99009-19400-00
Circlip (Ref #7)
7
Part #99009-19400-00
Spring, Pilot Adjusting (Ref #8)
8
Part #90508-26016-00
Втулка пружины (Ref #9)
9
Part #3S0-E5664-00-00
Тарелка пружины (Ref #10)
10
Part #5LM-E5664-00-00
KICK CRANK ASSY (Ref #11)
11
Part #5B6-15620-00-00
Cover, Kick Lever (Ref #12)
12
Part #156-15618-01-00
Bolt, Hexagon (Ref #13)
13
Part #970-17060-25-00
Oil seal (Ref #14)
14
Part #93102-15890-00
-
44WH-E5671-00-00
Колесо зубчатое
1Replaced by 296-15671-00-00 Доступно: Нет в наличии
