Задний рычаг & Подвеска
Задний рычаг & Подвеска
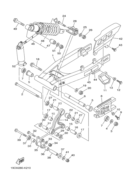
REAR ARM COMP. (Ref #1)
1
Part #5HP-22110-20-00
Shaft, pivot (Ref #2)
2
Part #1B2-F2141-00-00
Гайка U (Ref #3)
3
Part #95617-12100-00
Шайба (Ref #4)
4
Part #90201-124G9-00
GROMMET (Ref #5)
5
Part #90386-18099-00
GROMMET (Ref #5)
5
Part #90386-18099-00
GROMMET (Ref #5)
5
Part #90386-18099-00
GROMMET (Ref #5)
5
Part #90386-18099-00
GROMMET (Ref #6)
6
Part #90389-12002-00
Крышка упорная 1 (Ref #7)
7
Part #401-22128-01-00
Крышка упорная 1 (Ref #7)
7
Part #401-22128-01-00
Крышка упорная 1 (Ref #7)
7
Part #401-22128-01-00
Крышка упорная 1 (Ref #7)
7
Part #401-22128-01-00
Отбойник (Ref #8)
8
Part #1B2-F2151-10-00
BOLT (Ref #9)
9
Part #95817-06025-00
Втулка (Ref #10)
10
Part #90387-062X0-00
Поддержка цепи (Ref #11)
11
Part #38V-22199-00-00
BOLT (Ref #12)
12
Part #95817-06020-00
COLLAR (Ref #13)
13
Part #90387-06737-00
Реле (Ref #14)
14
Part #1B2-F217A-00-00
GROMMET (Ref #15)
15
Part #90384-18190-00
GROMMET (Ref #15)
15
Part #90384-18190-00
GROMMET (Ref #15)
15
Part #90384-18190-00
GROMMET (Ref #15)
15
Part #90384-18190-00
GROMMET (Ref #16)
16
Part #1B2-F2124-00-00
Крышка упорная 2 (Ref #17)
17
Part #1B2-F2129-00-00
Крышка упорная 2 (Ref #17)
17
Part #1B2-F2129-00-00
Крышка упорная 2 (Ref #17)
17
Part #1B2-F2129-00-00
Крышка упорная 2 (Ref #17)
17
Part #1B2-F2129-00-00
BOLT (Ref #18)
18
Part #90105-12019-00
Цельная втулка (Ref #21)
21
Part #90380-16109-00
Цельная втулка (Ref #21)
21
Part #90380-16109-00
Цельная втулка (Ref #21)
21
Part #90380-16109-00
Цельная втулка (Ref #21)
21
Part #90380-16109-00
GROMMET (Ref #22)
22
Part #22W-22124-00-00
COLLAR (Ref #23)
23
Part #90387-106G0-00
BOLT (Ref #24)
24
Part #90109-10689-00
Washer, Plate (Ref #25)
25
Part #90201-100F7-00
Nut, Self-Locking (Ref #26)
26
Part #90185-10120-00
Крышка упорная 2 (Ref #27)
27
Part #4AN-F2129-00-00
Крышка упорная 2 (Ref #27)
27
Part #4AN-F2129-00-00
Крышка упорная 2 (Ref #27)
27
Part #4AN-F2129-00-00
Крышка упорная 2 (Ref #27)
27
Part #4AN-F2129-00-00
Ботинок резиновый (Ref #28)
28
Part #4AN-F2189-00-00
GROMMET (Ref #29)
29
Part #90383-16023-00
Oil seal (Ref #30)
30
Part #93109-16800-00
Oil seal (Ref #30)
30
Part #93109-16800-00
Oil seal (Ref #30)
30
Part #93109-16800-00
Oil seal (Ref #30)
30
Part #93109-16800-00
Rod, Connecting 1 (Ref #35)
35
Part #1B2-F217F-00-35
COLLAR (Ref #38)
38
Part #90387-105G9-00
Screw, With Washer (Ref #39)
39
Part #90105-10392-00
Case, Chain (Ref #42)
42
Part #1B2-F2311-00-00
Screw, With Washer (Ref #43)
43
Part #90119-06079-00
Screw, With Washer (Ref #43)
43
Part #97017-06014-00
Наклейка (Ref #44)
44
Part #3RV-21668-A0-00
Наклейка (Ref #45)
45
Part #3RV-21668-B0-00
Амортизатор с пружиной (Ref #46)
46
Part #5HP-22210-G0-00
GROMMET (Ref #47)
47
Part #2YK-22216-00-00
Ярлык предупркждающий (Ref #48)
48
Part #4AA-22259-60-00
BOLT (Ref #49)
49
Part #90105-12030-00
Зажим шланга (Ref #52)
52
Part #90450-54M00-00
-
75L9-F2128-00-00
Крышка упорная 1
2Replaced by 401-22128-01-00 Доступно: Нет в наличии
-
115RM-F2199-00-00
Поддержка цепи
1Replaced by 38V-22199-00-00 Доступно: Нет в наличии
-
4390119-06205-00
Screw, With Washer
2Replaced by 90119-06079-00 Доступно: Нет в наличии
-
484AA-22259-70-00
Ярлык предупркждающий
1Replaced by 4AA-22259-60-00 Доступно: Нет в наличии
