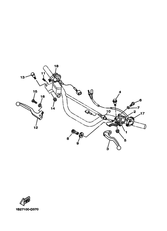
Пульт управления рулевой & Рычаг
Пульт управления рулевой & Рычаг
Держатель рукоятки 1 (Ref #1)
1
Part #2TY-H2911-00-00
Держатель нижняя ручка 1 (Ref #2)
2
Part #1B2-H2913-00-00
Lever 1 (Ref #3)
3
Part #4GY-83912-00-00
BOLT (Ref #4)
4
Part #4LR-H3945-00-00
Nut, Self-Locking (Ref #5)
5
Part #901-85068-02-00
Screw, Pan Head (Ref #6)
6
Part #98517-05020-00
Washer, Plate (Ref #7)
7
Part #929-06051-00-09
Washer, Plate (Ref #7)
7
Part #92907-05100-00
BOLT (Ref #8)
8
Part #90123-08046-00
Nut, flange (Ref #9)
9
Part #90179-08148-00
Switch (Ref #10)
10
Part #19D-82917-00-00
Пружина компрессора (Ref #11)
11
Part #90501-061G2-00
Lever 2 (Ref #12)
12
Part #1B2-H3922-10-00
BOLT (Ref #13)
13
Part #90109-06577-00
Винт шестиугольный (Ref #15)
15
Part #90143-06024-00
Nut, flange (Ref #16)
16
Part #90170-06010-00
Кнопка (Ref #17)
17
Part #5HP-83976-22-00
Switch, Handle 1 (Ref #18)
18
Part #5HP-83976-12-00
-
590185-06W10-00
Nut, Self-Locking
1Replaced by 901-85068-02-00 Доступно: Нет в наличии
