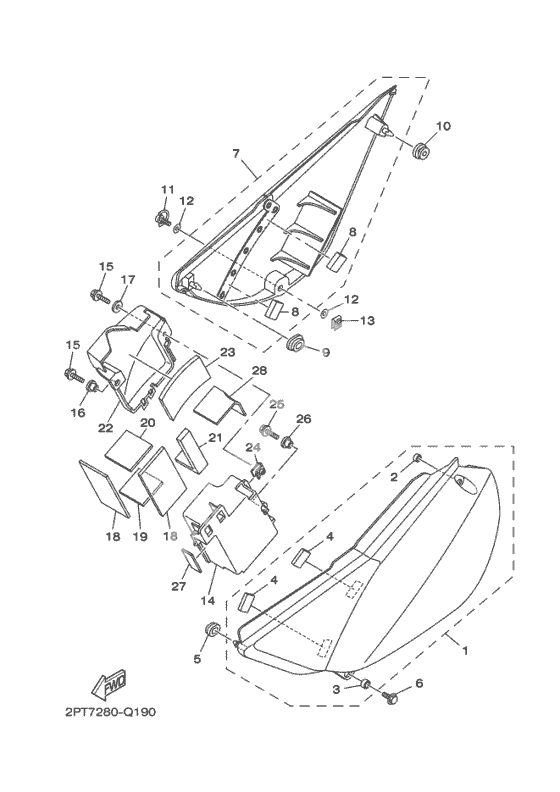
Боковая крышка
Боковая крышка
サイドカバーアセンブリ WG (Ref #1)
1
Part #1B2-F1710-00-00
COLLAR (Ref #2)
2
Part #90387-064X4-00
Втулка (Ref #3)
3
Part #90387-1001B-00
Амортизатор (Ref #4)
4
Part #1B2-21717-00-00
Амортизатор (Ref #4)
4
Part #1B2-21717-00-00
Амортизатор (Ref #4)
4
Part #1B2-21717-00-00
Амортизатор (Ref #4)
4
Part #1B2-21717-00-00
Крышка картера 2 (Ref #5)
5
Part #999-99999-99-00
GROMMET (Ref #5)
5
Part #90480-01558-00
Screw, With Washer (Ref #6)
6
Part #97017-06016-00
サイドカバーアセンブリ WG (Ref #7)
7
Part #1B2-F1720-00-00
Дэмпфер соединения (Ref #8)
8
Part #1B2-21778-00-00
Дэмпфер соединения (Ref #8)
8
Part #1B2-21778-00-00
Дэмпфер соединения (Ref #8)
8
Part #1B2-21778-00-00
Дэмпфер соединения (Ref #8)
8
Part #1B2-21778-00-00
GROMMET (Ref #10)
10
Part #90480-13014-00
. ヘツド (Ref #11)
11
Part #3FV-28386-00-00
Washer, Special 1 (Ref #12)
12
Part #2TK-21757-00-00
Washer, Special 1 (Ref #12)
12
Part #2TK-21757-00-00
Washer, Special 1 (Ref #12)
12
Part #2TK-21757-00-00
Washer, Special 1 (Ref #12)
12
Part #2TK-21757-00-00
Плата пружины (Ref #13)
13
Part #4XV-2177L-01-00
Коробка аккамулятора (Ref #14)
14
Part #1B2-F177G-00-00
BOLT (Ref #15)
15
Part #95817-06020-00
BOLT (Ref #15)
15
Part #95817-06020-00
BOLT (Ref #15)
15
Part #95817-06020-00
BOLT (Ref #15)
15
Part #95817-06020-00
COLLAR (Ref #16)
16
Part #90387-06178-00
Амортизатор (Ref #17)
17
Part #1B2-F174X-00-00
Washer, Plate (Ref #17)
17
Part #90201-06020-00
Амортизатор (Ref #19)
19
Part #1B2-F1746-00-00
Амортизатор (Ref #20)
20
Part #1B2-F174Y-00-00
Амортизатор (Ref #21)
21
Part #1B2-F1747-00-00
Крышка аккамулятора (Ref #22)
22
Part #1B2-H2129-10-00
Прокладка аккумулятора (Ref #23)
23
Part #1B2-H2121-00-00
Nut, Spring (Ref #24)
24
Part #90183-06069-00
BOLT (Ref #25)
25
Part #95817-06016-00
COLLAR (Ref #26)
26
Part #90387-087L0-00
Амортизатор (Ref #27)
27
Part #1B2-F1639-00-00
COVER (Ref #28)
28
Part #1B2-8252U-00-00
-
590480-01868-00
Втулка демпфирующая
1Replaced by 999-99999-99-00 Доступно: Нет в наличии
-
690119-06018-00
Screw, With Washer
1Replaced by 97017-06016-00 Доступно: Нет в наличии
