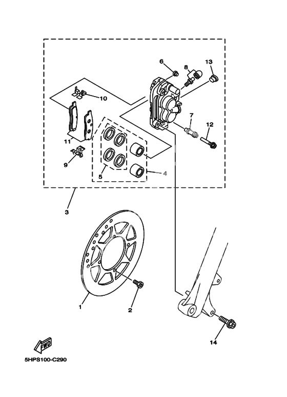
Передний тормоз
Передний тормоз
Тормозной диск (Ref #1)
1
Part #3UN-2582T-00-00
BOLT (Ref #2)
2
Part #90109-06815-00
Caliper Assy (Left) (Ref #3)
3
Part #3UN-2580T-00-00
ピストン (Ref #4)
4
Part #4ES-W0057-10-00
Caliper Seal Kit (Ref #5)
5
Part #4ES-25803-10-00
Ботинок (Ref #6)
6
Part #5R2-25937-00-00
Ботинок (Ref #7)
7
Part #56A-25937-00-00
Bleed Screw Kit (Ref #8)
8
Part #15B-W0048-00-00
Суппорт (Ref #9)
9
Part #56A-25919-00-00
Суппорт (Ref #10)
10
Part #56A-25919-10-00
Brake pad kit (Ref #11)
11
Part #3UN-W0045-00-00
BOLT (Ref #12)
12
Part #56A-25926-00-00
Чашка индикатора (Ref #13)
13
Part #34X-25845-00-00
BOLT (Ref #14)
14
Part #90105-08211-00
-
51LR-W0047-00-00
Caliper Seal Kit
1Replaced by 4ES-25803-10-00 Доступно: Нет в наличии
-
851L-W0048-00-00
Bleed Screw Kit
1Replaced by 15B-W0048-00-00 Доступно: Нет в наличии
