Боковая крышка
Боковая крышка
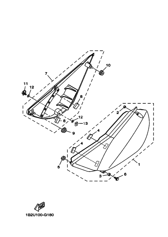
サイドカバーアセンブリ WG (Ref #1)
1
Part #1B2-F1710-00-00
COLLAR (Ref #2)
2
Part #90387-064X4-00
Втулка (Ref #3)
3
Part #90387-1001B-00
Амортизатор (Ref #4)
4
Part #1B2-21717-00-00
Амортизатор (Ref #4)
4
Part #1B2-21717-00-00
Амортизатор (Ref #4)
4
Part #1B2-21717-00-00
Амортизатор (Ref #4)
4
Part #1B2-21717-00-00
Крышка картера 2 (Ref #5)
5
Part #999-99999-99-00
GROMMET (Ref #5)
5
Part #90480-01558-00
Screw, With Washer (Ref #6)
6
Part #97017-06016-00
サイドカバーアセンブリ WG (Ref #7)
7
Part #1B2-F1720-00-00
Дэмпфер соединения (Ref #8)
8
Part #1B2-21778-00-00
Дэмпфер соединения (Ref #8)
8
Part #1B2-21778-00-00
Дэмпфер соединения (Ref #8)
8
Part #1B2-21778-00-00
Дэмпфер соединения (Ref #8)
8
Part #1B2-21778-00-00
GROMMET (Ref #10)
10
Part #90480-13014-00
. ヘツド (Ref #11)
11
Part #3FV-28386-00-00
Washer, Special 1 (Ref #12)
12
Part #2TK-21757-00-00
Washer, Special 1 (Ref #12)
12
Part #2TK-21757-00-00
Washer, Special 1 (Ref #12)
12
Part #2TK-21757-00-00
Washer, Special 1 (Ref #12)
12
Part #2TK-21757-00-00
Плата пружины (Ref #13)
13
Part #4XV-2177L-01-00
-
590480-01868-00
Втулка демпфирующая
1Replaced by 999-99999-99-00 Доступно: Нет в наличии
-
690119-06018-00
Screw, With Washer
1Replaced by 97017-06016-00 Доступно: Нет в наличии
