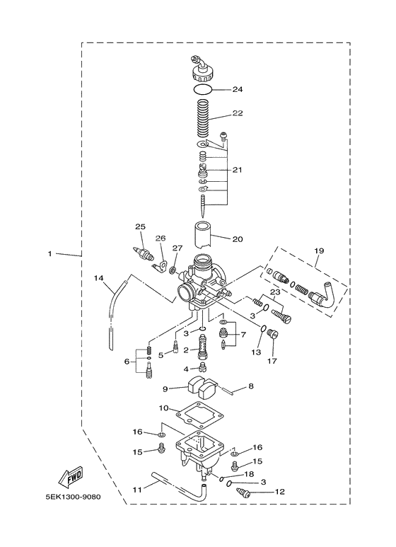
Carburetor
Carburetor
-
08626-14386-00-00
Штифт плавающий
1Replaced by 647-14386-10-00 Доступно: Нет в наличии
-
1598501-04014-00
Screw, Pan Head
4Replaced by 98580-04014-00 Доступно: Нет в наличии
-
1797801-06008-00
Screw, Pan Head
1Replaced by 97885-06008-00 Доступно: Нет в наличии
-
263BT-82103-00-00
. . インシユレータ, ターミナル
1Replaced by 5FU-82103-00-00 Доступно: Нет в наличии
