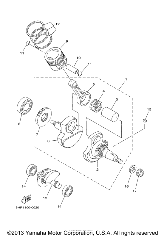
Crankshaft piston
Crankshaft piston
Вал коленчатый (Ref #1)
1
Part #5HH-E1400-13-00
Вал коленчатый (Ref #1)
1
Part #5RM-E1400-01-00
Кривошип (Ref #2)
2
Part #5HP-11401-09-00
Палец шатунный (Ref #3)
3
Part #4LS-11681-01-00
BEARING (Ref #4)
4
Part #933-10629-0C-00
Rod, connecting (Ref #5)
5
Part #4LS-11651-02-00
Кривошип (Ref #6)
6
Part #5HP-11422-00-00
Ведущая шестерня (Ref #7)
7
Part #5AP-11536-00-00
BEARING (Ref #8)
8
Part #93306-20597-00
Piston (1.00Mm O/s) (Ref #9)
9
Part #5HP-11638-00-00
Piston (0.50Mm O/s) (Ref #9)
9
Part #5HP-11636-00-00
Piston (std) (Ref #9)
9
Part #5HP-11631-00-A0
Палец поршня (Ref #10)
10
Part #2TK-11633-00-00
Кольцо стопорное (Ref #11)
11
Part #93450-16068-00
Кольцо стопорное (Ref #11)
11
Part #93450-16068-00
Кольцо стопорное (Ref #11)
11
Part #93450-16068-00
Кольцо стопорное (Ref #11)
11
Part #93450-16068-00
Кольца поршневые (Ref #12)
12
Part #4LS-11607-00-00
Кольца поршневые (Ref #12)
12
Part #4LS-11605-00-00
Кольца поршневые (Ref #12)
12
Part #4LS-11603-00-00
Балансир (Ref #13)
13
Part #5HP-11500-00-00
BEARING (Ref #14)
14
Part #93306-20211-00
BEARING (Ref #14)
14
Part #93306-20211-00
BEARING (Ref #14)
14
Part #93306-20211-00
BEARING (Ref #14)
14
Part #93306-20211-00
KEY,WOODRUFF (Ref #15)
15
Part #90280-03017-00
Washer, Plate (Ref #16)
16
Part #90201-120E8-00
Nut, flange (Ref #17)
17
Part #90179-12657-00
-
15HP-11400-00-00
Вал коленчатый
1Replaced by 5RM-E1400-01-00 Доступно: Нет в наличии
