Топливный бак
Топливный бак
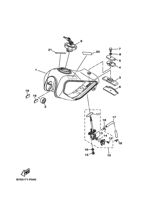
Fuel Tank Comp (Ref #1)
1
Part #5RS-Y2410-10-W2
Дэмпфер соединения (Ref #2)
2
Part #4L0-24181-00-00
Дэмпфер соединения (Ref #3)
3
Part #30X-24182-01-00
Дэмпфер соединения (Ref #4)
4
Part #30X-24183-01-00
Washer, special (Ref #5)
5
Part #30X-24186-01-00
Washer, special (Ref #6)
6
Part #30X-24187-00-00
BOLT (Ref #7)
7
Part #97017-06012-00
Washer, Plate (Ref #8)
8
Part #92907-06600-00
Cap assy (Ref #9)
9
Part #11H-24602-10-00
Fuel Cock Assy 1 (Ref #10)
10
Part #23F-24500-20-00
Прокладка (Ref #11)
11
Part #4X8-24512-10-00
Screw, Pan Head (Ref #12)
12
Part #98517-03008-00
. . VALVE, CHECK (Ref #13)
13
Part #3AC-24523-00-00
Уплотнение (Ref #14)
14
Part #3AJ-24534-10-00
BOLT (Ref #15)
15
Part #90149-06011-00
Washer, Plate (Ref #16)
16
Part #902-02051-87-00
HOSE (Ref #17)
17
Part #904-45108-29-00
CLIP (Ref #18)
18
Part #90467-090A2-00
CLIP (Ref #18)
18
Part #90467-090A2-00
CLIP (Ref #18)
18
Part #90467-090A2-00
CLIP (Ref #18)
18
Part #90467-090A2-00
Демпфер (Ref #19)
19
Part #18A-21778-00-00
Демпфер (Ref #19)
19
Part #18A-21778-00-00
Демпфер (Ref #19)
19
Part #18A-21778-00-00
Демпфер (Ref #19)
19
Part #18A-21778-00-00
Наклейка предупредительная (Ref #20)
20
Part #1TP-2118K-A1-00
Label, Caution (Ref #21)
21
Part #1TP-2118K-B1-00
-
1298507-03008-00
Screw, Pan Head
2Replaced by 98517-03008-00 Доступно: Нет в наличии
-
192JX-24141-00-00
Protector, fuel tank
2Replaced by 18A-21778-00-00 Доступно: Нет в наличии
