Front fork 2
Front fork 2
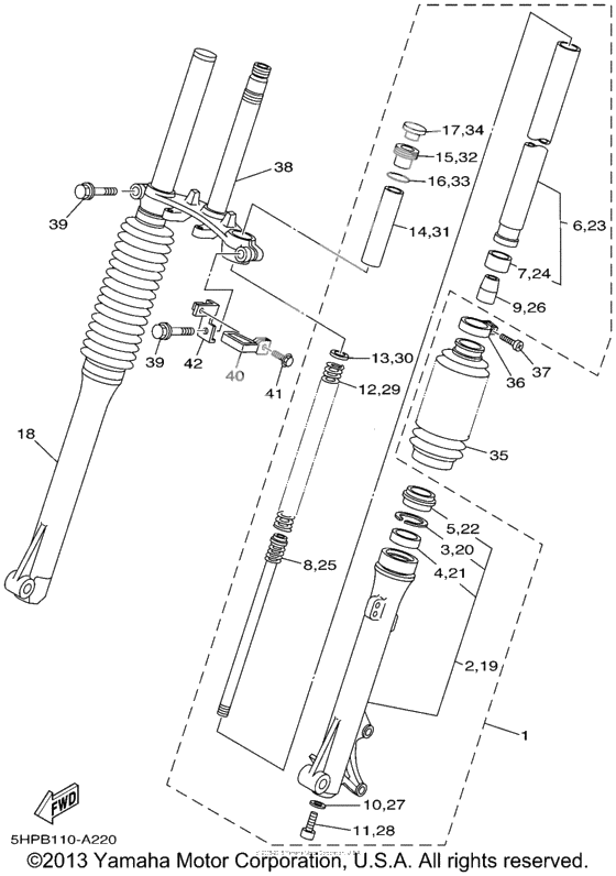
Front Fork Assy (L.h) (Ref #1)
1
Part #5HP-23102-10-00
. OUTER TUBE COMP. (Ref #2)
2
Part #5HP-23106-11-00
Зажим сальника (Ref #3)
3
Part #3V3-23156-00-00
Oil seal (Ref #4)
4
Part #33J-23145-00-00
Seal, Dust (Ref #5)
5
Part #4KN-23144-00-00
Внутренняя трубка (Ref #6)
6
Part #5HP-23110-00-00
Поршень передней вилки (Ref #7)
7
Part #17W-23171-00-00
Цилиндр, передняя вилка (Ref #8)
8
Part #5HP-23170-10-00
Spindle, Taper (Ref #9)
9
Part #2K5-23173-00-00
Washer, Needle Valve (Ref #10)
10
Part #509-23158-L0-00
Bolt, Hexagon Socket Head (Ref #11)
11
Part #3D8-23181-00-00
Пружина передней вилки (Ref #12)
12
Part #5HP-23141-10-00
Шайба сальника (Ref #13)
13
Part #5J0-23146-00-00
SPACER (Ref #14)
14
Part #5HP-23118-10-00
Болт стакана (Ref #15)
15
Part #1X0-23111-00-00
Washer, Needle Valve (Ref #16)
16
Part #146-23114-00-00
Cap (Ref #17)
17
Part #1X0-23168-00-00
Front Fork Assy (R.h) (Ref #18)
18
Part #5HP-23103-10-00
. OUTER TUBE COMP. (Ref #19)
19
Part #5HP-23107-11-00
Ботинок (Ref #35)
35
Part #5HP-23191-00-00
BAND (Ref #36)
36
Part #482-23192-40-00
Screw, Pan Head (Ref #37)
37
Part #98517-04016-00
UNDER BRACKET COMP. (Ref #38)
38
Part #5HP-23340-00-00
Болт оси (Ref #39)
39
Part #958-24100-30-00
Болт оси (Ref #39)
39
Part #958-24100-30-00
Болт оси (Ref #39)
39
Part #958-24100-30-00
Болт оси (Ref #39)
39
Part #958-24100-30-00
Направляющая кабеля (Ref #40)
40
Part #4DA-23389-00-00
Screw, With Washer (Ref #41)
41
Part #90119-05071-00
Guide, cable (Ref #42)
42
Part #5HP-2331E-00-00
-
25HP-23106-10-00
. OUTER TUBE COMP.
1Replaced by 5HP-23106-11-00 Доступно: Нет в наличии
-
533J-23144-00-00
PLATE, SEAL DAMPER
1Replaced by 4KN-23144-00-00 Доступно: Нет в наличии
-
11278-23181-50-00
Bolt, Hexagon Socket Head
1Replaced by 3D8-23181-00-00 Доступно: Нет в наличии
-
195HP-23107-10-00
. OUTER TUBE COMP.
1Replaced by 5HP-23107-11-00 Доступно: Нет в наличии
-
3798501-04016-00
Screw, Pan Head
2Replaced by 98517-04016-00 Доступно: Нет в наличии
