Interruptor manillar&palanc
Interruptor manillar&palanc
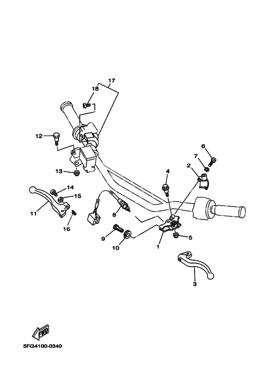
Держатель рукоятки 1 (Ref #1)
1
Part #2TY-H2911-00-00
Holder, Lever Under (Ref #2)
2
Part #2TY-H2915-01-00
Lever 1 (Ref #3)
3
Part #4AN-H3912-00-00
Bolt (2Yk1) (Ref #4)
4
Part #90109-06799-00
Гайка U (Ref #5)
5
Part #95617-06100-00
Screw, Pan Head (Ref #6)
6
Part #98517-05020-00
Washer, Plate (Ref #7)
7
Part #929-06051-00-09
Washer, Plate (Ref #7)
7
Part #92907-05100-00
Switch (Ref #8)
8
Part #5H0-83980-09-00
BOLT (Ref #9)
9
Part #90123-08046-00
Nut, flange (Ref #10)
10
Part #90179-08148-00
Lever 2 (Ref #11)
11
Part #4AN-H3922-00-00
BOLT (Ref #12)
12
Part #90109-06577-00
Screw, Binding (Ref #14)
14
Part #901-54068-02-00
Nut, flange (Ref #15)
15
Part #90170-06010-00
Spring, Compression (Ref #16)
16
Part #90501-10312-00
Кнопка (Ref #17)
17
Part #4DW-83975-11-00
BOLT (Ref #18)
18
Part #98507-05018-00
-
85U0-82917-00-00
Front Stop Switch As
1Replaced by 5H0-83980-09-00 Доступно: Нет в наличии
