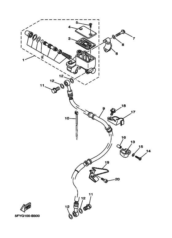
Передний тормозной цилиндр
Передний тормозной цилиндр
Главный цилиндр (Ref #1)
1
Part #5RS-25870-02-00
Комплект главного цилиндра (Ref #2)
2
Part #5CG-W0041-00-00
Диафрагма (Ref #3)
3
Part #5RB-25854-00-00
Стакан резервуара (Ref #4)
4
Part #4GY-25852-01-00
Screw, Pan Head (Ref #5)
5
Part #98707-04012-00
Кронштейн (Ref #6)
6
Part #56A-25867-00-00
Bolt, Hexagon (Ref #7)
7
Part #970-17060-25-00
Washer, Plate (Ref #8)
8
Part #92907-06600-00
Шланг, тормоз 1 (Ref #9)
9
Part #5RS-25872-00-00
BAND (Ref #10)
10
Part #1UA-82591-00-00
BOLT (Ref #11)
11
Part #90401-10159-00
BOLT (Ref #11)
11
Part #90401-10159-00
BOLT (Ref #11)
11
Part #90401-10159-00
BOLT (Ref #11)
11
Part #90401-10159-00
Screw, Pan Head (Ref #14)
14
Part #98507-04018-00
Washer, Plate (Ref #15)
15
Part #92907-04600-00
Pipe, Over Flow 1 (Ref #16)
16
Part #904-4505M-07-00
Hose (L200) (Ref #16)
16
Part #904-4505N-13-00
Держатель шланга тормоза (Ref #17)
17
Part #5RS-25886-00-00
BOLT (Ref #18)
18
Part #95817-06012-00
Держатель шланга тормоза (Ref #19)
19
Part #34X-25876-00-00
BOLT (Ref #20)
20
Part #91317-06010-00
