Rear arm
Rear arm
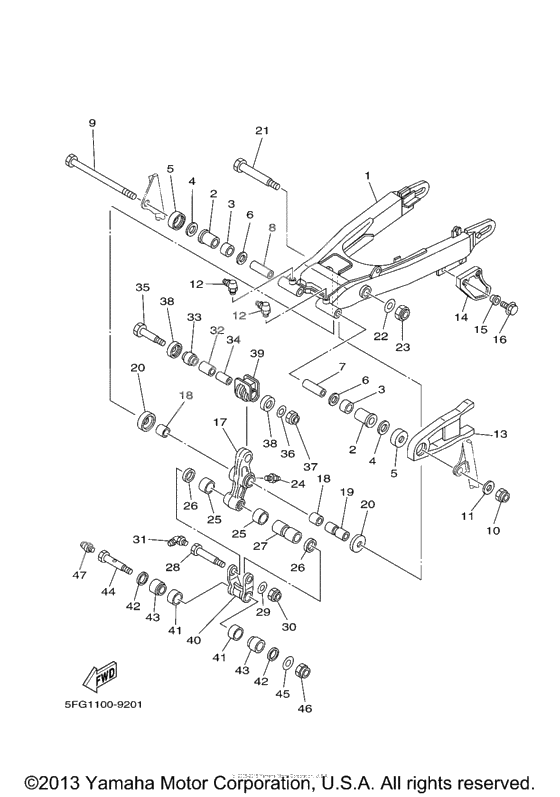
Rear Arm Comp (Ref #1)
1
Part #4VW-F2110-10-35
GROMMET (Ref #2)
2
Part #90386-18146-00
GROMMET (Ref #2)
2
Part #90386-18146-00
GROMMET (Ref #2)
2
Part #90386-18146-00
GROMMET (Ref #2)
2
Part #90386-18146-00
Цельная втулка (Ref #3)
3
Part #90380-18139-00
Цельная втулка (Ref #3)
3
Part #90380-18139-00
Цельная втулка (Ref #3)
3
Part #90380-18139-00
Цельная втулка (Ref #3)
3
Part #90380-18139-00
SHIM (Ref #4)
4
Part #401-22127-00-00
SHIM (Ref #4)
4
Part #401-22127-00-00
SHIM (Ref #4)
4
Part #401-22127-00-00
SHIM (Ref #4)
4
Part #401-22127-00-00
Крышка упорная 1 (Ref #5)
5
Part #401-22128-01-00
Крышка упорная 1 (Ref #5)
5
Part #401-22128-01-00
Крышка упорная 1 (Ref #5)
5
Part #401-22128-01-00
Крышка упорная 1 (Ref #5)
5
Part #401-22128-01-00
Oil seal (Ref #6)
6
Part #93109-18020-00
Oil seal (Ref #6)
6
Part #93109-18020-00
Oil seal (Ref #6)
6
Part #93109-18020-00
Oil seal (Ref #6)
6
Part #93109-18020-00
COLLAR (Ref #7)
7
Part #90387-121N2-00
COLLAR (Ref #8)
8
Part #90387-127F2-00
Вал, поворотный (Ref #9)
9
Part #34X-22141-00-00
Гайка самоконтрящаяся (Ref #10)
10
Part #90185-12134-00
Washer, Plate (Ref #11)
11
Part #90201-126A7-00
Ниппель консистентной смазки (Ref #12)
12
Part #937-00060-05-00
Ниппель консистентной смазки (Ref #12)
12
Part #937-00060-05-00
Ниппель консистентной смазки (Ref #12)
12
Part #937-00060-05-00
Ниппель консистентной смазки (Ref #12)
12
Part #937-00060-05-00
Seal, Guard (Ref #13)
13
Part #1KH-22151-00-00
Поддержка цепи (Ref #14)
14
Part #38V-22199-00-00
COLLAR (Ref #15)
15
Part #90387-06737-00
BOLT (Ref #16)
16
Part #97017-06020-00
Arm, Relay (Ref #17)
17
Part #3RW-2217A-00-00
GROMMET (Ref #18)
18
Part #90386-20120-00
GROMMET (Ref #18)
18
Part #90386-20120-00
GROMMET (Ref #18)
18
Part #90386-20120-00
GROMMET (Ref #18)
18
Part #90386-20120-00
COLLAR (Ref #19)
19
Part #90387-140J9-00
Крышка упорная 1 (Ref #20)
20
Part #4AN-F2128-00-00
Крышка упорная 1 (Ref #20)
20
Part #4AN-F2128-00-00
Крышка упорная 1 (Ref #20)
20
Part #4AN-F2128-00-00
Крышка упорная 1 (Ref #20)
20
Part #4AN-F2128-00-00
BOLT (Ref #21)
21
Part #90105-12668-00
Washer, Plate (Ref #22)
22
Part #90201-122H1-00
Гайка U (Ref #23)
23
Part #95617-12100-00
Nipple, Grease (Ref #24)
24
Part #93700-06M03-00
GROMMET (Ref #25)
25
Part #90386-18115-00
GROMMET (Ref #25)
25
Part #90386-18115-00
GROMMET (Ref #25)
25
Part #90386-18115-00
GROMMET (Ref #25)
25
Part #90386-18115-00
COLLAR (Ref #27)
27
Part #90387-126J8-00
BOLT (Ref #28)
28
Part #90109-10752-00
Washer, Plate (Ref #29)
29
Part #90201-10M05-00
Nut, Self-Locking (Ref #30)
30
Part #90185-10120-00
Цельная втулка (Ref #32)
32
Part #90380-16109-00
GROMMET (Ref #33)
33
Part #22W-22124-00-00
COLLAR (Ref #34)
34
Part #90387-106G0-00
BOLT (Ref #35)
35
Part #90109-10689-00
Крышка упорная 2 (Ref #38)
38
Part #4AN-F2129-00-00
Крышка упорная 2 (Ref #38)
38
Part #4AN-F2129-00-00
Крышка упорная 2 (Ref #38)
38
Part #4AN-F2129-00-00
Крышка упорная 2 (Ref #38)
38
Part #4AN-F2129-00-00
Ботинок резиновый (Ref #39)
39
Part #4AN-F2189-00-00
Rod, Connecting 1 (Ref #40)
40
Part #1KH-2217F-00-00
COLLAR (Ref #43)
43
Part #90387-121L6-00
COLLAR (Ref #43)
43
Part #90387-121L6-00
COLLAR (Ref #43)
43
Part #90387-121L6-00
COLLAR (Ref #43)
43
Part #90387-121L6-00
-
91KH-22141-00-00
Вал, поворотный
1Replaced by 34X-22141-00-00 Доступно: Нет в наличии
-
12937-00068-03-00
Ниппель консистентной смазки
2Replaced by 937-00060-05-00 Доступно: Нет в наличии
-
404VW-F217F-00-00
Rod, Connecting 1
1Replaced by 1KH-2217F-00-00 Доступно: Нет в наличии
