Side cover
Side cover
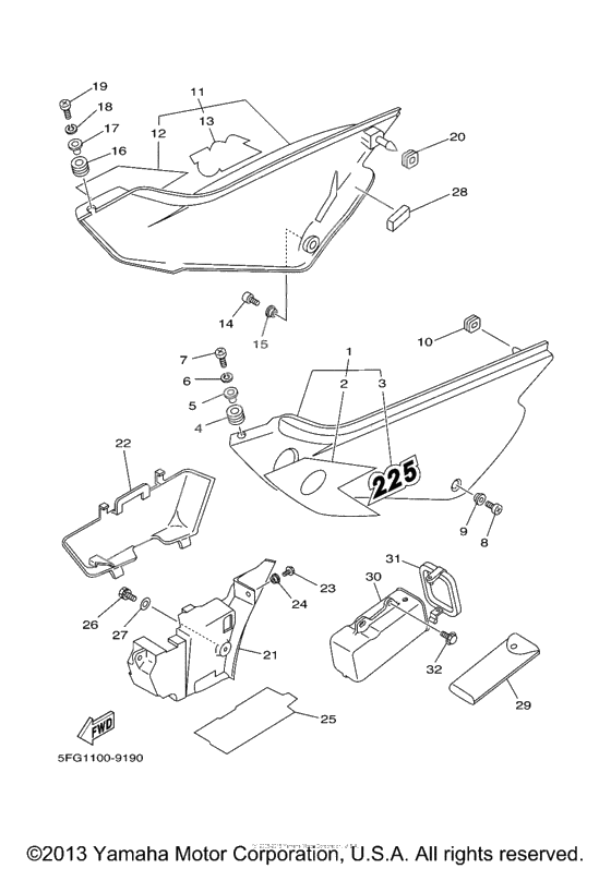
Side Cover Assy 1 (Ref #1)
1
Part #4VW-F1711-00-00
Графика (Ref #2)
2
Part #5FG-F173E-00-00
Emblem 1 (Ref #3)
3
Part #5FG-F1781-00-00
Grommet 839774310000 (Ref #4)
4
Part #90480-14023-00
COLLAR (Ref #5)
5
Part #90387-06158-00
Washer, Plate (Ref #6)
6
Part #9290M-06100-00
Screw, Pan Head (Ref #7)
7
Part #98517-06025-00
Screw, Pan Head (Ref #8)
8
Part #98507-06016-00
Втулка (Ref #9)
9
Part #90387-06107-00
GROMMET (Ref #10)
10
Part #90480-01401-00
Side Cover Assy 2 (Ref #11)
11
Part #4VW-F1721-00-00
Графика (Ref #12)
12
Part #5FG-F173F-00-00
Box (Ref #21)
21
Part #4VW-F177A-10-00
サイドカバーアセンブリ WG (Ref #22)
22
Part #4VW-F1741-00-00
BOLT (Ref #23)
23
Part #95817-06016-00
COLLAR (Ref #24)
24
Part #903-8706W-05-00
Валик (Ref #25)
25
Part #4VW-F173M-00-00
Screw, With Washer (Ref #26)
26
Part #975-0N064-14-00
Washer, Plate (Ref #27)
27
Part #90201-062A8-00
Амортизатор (Ref #28)
28
Part #4VW-F1717-00-00
Tool kit (Ref #29)
29
Part #4VW-F8100-01-00
Box, tool (Ref #30)
30
Part #55V-28173-01-00
. リツド (Ref #31)
31
Part #55V-28185-00-00
Screw, With Washer (Ref #32)
32
Part #97017-06016-00
-
115FG-F1720-00-00
Cover, Side 2
1Replaced by 4VW-F1721-00-00 Доступно: Нет в наличии
-
3290119-06108-00
Screw, With Washer
2Replaced by 97017-06016-00 Доступно: Нет в наличии
