Стартер электрический
Стартер электрический
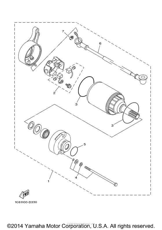
Starting Motor Assy (Ref #1)
1
Part #1C6-H1800-00-00
Набор щёток (Ref #2)
2
Part #4FP-H1801-00-00
Кольцо уплотнительное (Ref #3)
3
Part #93210-55669-00
Кольцо уплотнительное (Ref #3)
3
Part #93210-55669-00
Кольцо уплотнительное (Ref #3)
3
Part #93210-55669-00
Кольцо уплотнительное (Ref #3)
3
Part #93210-55669-00
Screw 2 (Ref #4)
4
Part #4FP-H1828-00-00
Кольцо уплотнительное (Ref #5)
5
Part #93210-25711-00
Канат (Ref #6)
6
Part #1C6-H183G-00-00
Screw, Pan Head (Ref #7)
7
Part #985-07050-08-00
Screw, Pan Head (Ref #7)
7
Part #985-80050-08-00
-
797601-05108-00
Screw, Pan Head With
1Replaced by 985-07050-08-00 Доступно: Нет в наличии
