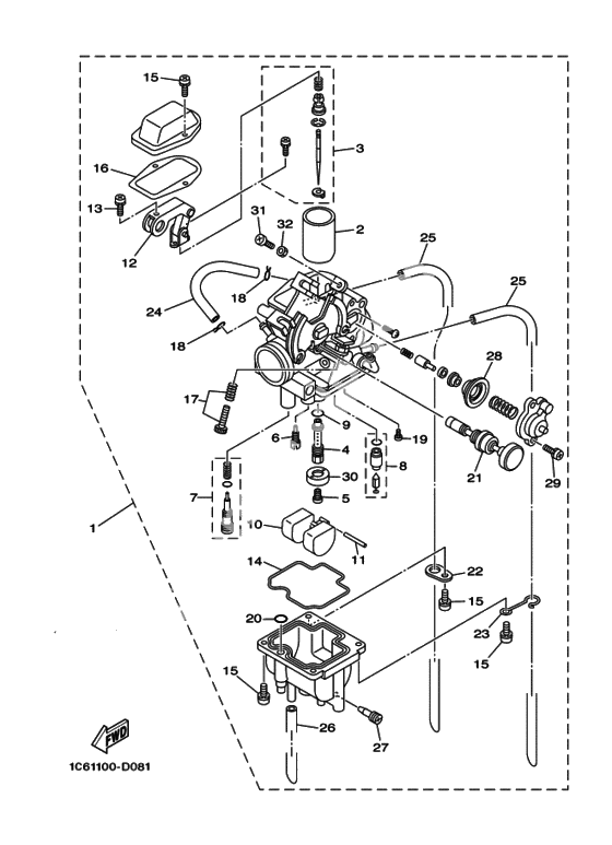
Карбюратор
Карбюратор
CARBURETOR ASSY (Ref #1)
1
Part #1C6-14301-10-00
Valve, Throttle 2 (Ref #2)
2
Part #1XL-14313-27-00
Needle set (Ref #3)
3
Part #1C6-1490J-00-00
Распылитель главный (Ref #4)
4
Part #1C6-14341-00-00
Жиклер главный (125) (Ref #5)
5
Part #288-14343-63-00
Жиклерпроводник (Ref #6)
6
Part #1C6-14342-18-00
Pilot Screw Set (Ref #7)
7
Part #1C6-14105-00-00
. . VALVE, CHECK (Ref #8)
8
Part #30S-14390-00-00
Washer, Needle Valve (Ref #9)
9
Part #360-24512-00-00
. FLOAT (Ref #10)
10
Part #25N-14385-00-00
Штифт плавающий (Ref #11)
11
Part #6E5-14386-01-00
Bracket 1 (Ref #12)
12
Part #4PT-14291-10-00
Screw, Pan Head (Ref #13)
13
Part #4PT-14325-00-00
Gasket, float chamber (Ref #14)
14
Part #5Y1-14384-00-00
Washer, Needle Valve (Ref #16)
16
Part #5Y1-14198-00-00
Stop Screw Set (Ref #17)
17
Part #5DS-1490K-00-00
CLIP (Ref #18)
18
Part #5Y1-14159-00-00
CLIP (Ref #18)
18
Part #5Y1-14159-00-00
CLIP (Ref #18)
18
Part #5Y1-14159-00-00
CLIP (Ref #18)
18
Part #5Y1-14159-00-00
Screw, Pan Head (Ref #19)
19
Part #30S-14325-00-00
Washer, Needle Valve (Ref #20)
20
Part #5Y1-14536-00-00
Плунжерстартер (Ref #21)
21
Part #1KH-14371-01-00
PLATE (Ref #22)
22
Part #5Y1-14146-00-00
PLATE (Ref #23)
23
Part #42U-14146-00-00
. . VALVE, CHECK (Ref #24)
24
Part #1KH-14149-00-00
Pipe (Ref #25)
25
Part #1C6-14197-00-00
Pipe (Ref #25)
25
Part #1C6-14197-00-00
Pipe (Ref #25)
25
Part #1C6-14197-00-00
Pipe (Ref #25)
25
Part #1C6-14197-00-00
Pipe (Ref #26)
26
Part #1C6-14396-00-00
BOLT (Ref #27)
27
Part #14T-14104-00-00
Комплект диафрагмы (Ref #28)
28
Part #5Y1-1490A-00-00
Screw, Pan Head (Ref #29)
29
Part #98580-04010-00
Plate,baffle (Ref #30)
30
Part #1KH-14153-00-00
Screw, Pan Head (Ref #31)
31
Part #97885-05016-00
Screw, Pan Head (Ref #31)
31
Part #98580-05012-00
Nut, flange (Ref #32)
32
Part #30X-14358-00-00
-
11689-14386-00-00
Штифт плавающий
1Replaced by 6E5-14386-01-00 Доступно: Нет в наличии
-
15976-01041-14-00
Screw, Pan Head
6Replaced by 98580-04014-00 Доступно: Нет в наличии
-
2998501-04010-00
Screw, Pan Head
2Replaced by 98580-04010-00 Доступно: Нет в наличии
-
3197801-05012-00
Screw, Pan Head
1Replaced by 97885-05016-00 Доступно: Нет в наличии
