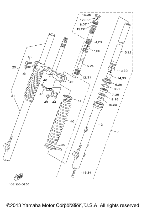
Вилка передней оси
Вилка передней оси
Front Fork Assy (L.h) (Ref #1)
1
Part #1C6-F3102-00-00
Труба внешняя (Ref #2)
2
Part #1C6-F3126-00-00
Внутренняя трубка (Ref #3)
3
Part #1C6-F3110-00-00
Spring, Pilot Adjusting (Ref #4)
4
Part #1C6-F3351-00-00
Поршень передней вилки (Ref #5)
5
Part #1C6-F3171-00-00
PLATE, SEAL DAMPER (Ref #6)
6
Part #1KH-23144-00-00
Oil seal (Ref #7)
7
Part #1KH-23145-00-00
Ring, Snap (Ref #8)
8
Part #34X-23156-00-00
Washer, Needle Valve (Ref #9)
9
Part #1KH-23147-00-00
Металическая вставка 1 (Ref #10)
10
Part #34X-23125-00-00
Кольцо поршневое (Ref #11)
11
Part #34X-23157-00-00
Spring, Pilot Adjusting (Ref #12)
12
Part #34X-23151-00-00
Metal, Slide 2 (Ref #13)
13
Part #34X-23135-00-00
Washer, Plate (Ref #14)
14
Part #4AN-F3166-00-00
Болт диагональный (Ref #15)
15
Part #3M7-23181-00-00
Чашка передней вилки (Ref #16)
16
Part #35E-23168-00-00
Circlip (Ref #17)
17
Part #35E-23183-00-00
Bolt, cap (Ref #18)
18
Part #35E-23111-00-00
GASKET (Ref #19)
19
Part #58W-F3114-00-00
Передняя вилка (Ref #20)
20
Part #1C6-F3103-00-00
Tube, Outer (Ref #21)
21
Part #1C6-F3136-00-00
Струбцина шланга (Ref #39)
39
Part #4AN-F3192-10-00
Ботинок (Ref #40)
40
Part #1C6-23191-00-00
BAND (Ref #41)
41
Part #4AN-F3192-00-00
Нижняя траверса (Ref #42)
42
Part #1C6-F3340-00-00
Направляющая кабеля (Ref #44)
44
Part #1C6-F331E-00-00
Направляющая кабеля (Ref #45)
45
Part #1C6-F3389-00-00
BOLT (Ref #46)
46
Part #90105-05361-00
