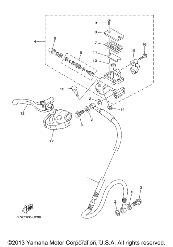
Front master cylinder
Front master cylinder
Шланг, тормоз 1 (Ref #1)
1
Part #1C6-25872-00-00
Главный цилиндр (Ref #4)
4
Part #1C6-F583F-00-00
Cylinder Kit, Master (Ref #5)
5
Part #5NY-W0041-01-00
Ботинок главного цилиндра (Ref #6)
6
Part #5NY-25868-00-00
Диафрагма резервуара (Ref #7)
7
Part #5XE-25854-00-00
Стакан резервуара (Ref #8)
8
Part #2VN-25852-02-00
Screw, Pan Head (Ref #9)
9
Part #98707-04012-00
Сепаратор assy (Ref #10)
10
Part #5CG-25715-00-00
Плавающий элемент резервуара (Ref #11)
11
Part #5XE-25853-00-00
Lever 2 (Ref #12)
12
Part #5MV-83922-00-00
BOLT (Ref #13)
13
Part #90109-06577-00
Nut, flange (Ref #14)
14
Part #95707-06500-00
Кронштейн (Ref #15)
15
Part #5HH-F5867-00-00
Bolt, Flange (Ref #16)
16
Part #5HH-F6332-00-00
Cover, Handle Lever 1 (Ref #17)
17
Part #5NY-26372-00-00
-
290401-10814-00
Болт соединяющий
4Replaced by 90401-10172-00 Доступно: Нет в наличии
-
55NY-W0041-00-00
Комплект главного цилиндра
1Replaced by 5NY-W0041-01-00 Доступно: Нет в наличии
-
1495706-06500-00
Nut, With Washer
1Replaced by 95707-06500-00 Доступно: Нет в наличии
-
171C6-F6372-00-00
Cover, Handle Lever 1
1Replaced by 5NY-26372-00-00 Доступно: Нет в наличии
