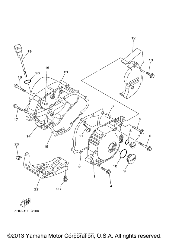
Crankcase cover 1
Crankcase cover 1
Крышка картера 1 (Ref #1)
1
Part #5HN-15411-20-00
Gasket, Crankcase Cover 1 (Ref #2)
2
Part #5HN-15451-01-00
Pin, Dowel (Ref #3)
3
Part #99530-10114-00
BOLT (Ref #4)
4
Part #95027-06040-00
BOLT (Ref #5)
5
Part #90105-06798-00
BOLT (Ref #6)
6
Part #95022-06060-00
プラグ,ストレート (Ref #7)
7
Part #90340-14120-00
Washer, Needle Valve (Ref #8)
8
Part #93210-14369-00
プラグ,ストレート (Ref #9)
9
Part #90340-32126-00
Washer, Needle Valve (Ref #10)
10
Part #93210-32172-00
PLATE (Ref #11)
11
Part #4NM-15113-00-00
Cover, Chain Case (Ref #12)
12
Part #5HN-15418-10-00
BOLT (Ref #13)
13
Part #90105-060A0-00
Крышка картера 2 (Ref #14)
14
Part #5HN-15421-00-00
Gasket, Crankcase Cover 2 (Ref #15)
15
Part #5HN-15461-00-00
Plug, Oil Level (Ref #19)
19
Part #55X-15362-10-00
Washer, Needle Valve (Ref #20)
20
Part #93210-19123-00
Сальник (Ref #21)
21
Part #93101-10142-00
Крышка стартера (Ref #22)
22
Part #4GL-15436-01-00
BOLT (Ref #23)
23
Part #901-0508X-15-00
BOLT (Ref #23)
23
Part #901-0508X-15-00
BOLT (Ref #23)
23
Part #901-0508X-15-00
BOLT (Ref #23)
23
Part #901-0508X-15-00
-
1955X-15362-02-00
Plug, Oil Level
1Replaced by 55X-15362-10-00 Доступно: Нет в наличии
-
-
Цена: 390.00 р.
Доступно: 4
-
