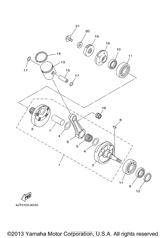
Crankshaft. piston
Crankshaft. piston
Вал коленчатый (Ref #1)
1
Part #4JT-11400-30-00
Вал коленчатый (Ref #2)
2
Part #4JT-11410-30-00
Вал коленчатый (Ref #3)
3
Part #4JT-11420-30-00
Washer, Plate (Ref #4)
4
Part #90209-22248-00
Washer, Plate (Ref #4)
4
Part #90209-22248-00
Washer, Plate (Ref #4)
4
Part #90209-22248-00
Washer, Plate (Ref #4)
4
Part #90209-22248-00
BEARING (Ref #5)
5
Part #93310-422B0-00
Rod, connecting (Ref #6)
6
Part #4JT-11651-10-00
Палец шатунный (Ref #7)
7
Part #4JT-11681-10-00
KEY,WOODRUFF (Ref #8)
8
Part #90280-04051-00
Oil seal (Ref #9)
9
Part #93102-25142-00
Oil seal (Ref #10)
10
Part #93103-32807-00
BEARING (Ref #11)
11
Part #93306-30570-00
BEARING (Ref #11)
11
Part #93306-30570-00
BEARING (Ref #11)
11
Part #93306-30570-00
BEARING (Ref #11)
11
Part #93306-30570-00
SPACER (Ref #12)
12
Part #4JT-11445-00-00
Piston (std) (Ref #13)
13
Part #4JT-11631-31-B0
Piston (std) (Ref #13)
13
Part #4JT-11631-31-A0
Piston (std) (Ref #13)
13
Part #4JT-11631-31-C0
Кольцо поршневое (Ref #14)
14
Part #4JT-11611-11-00
Pin, piston (Ref #15)
15
Part #4XM-11633-01-00
BEARING (Ref #16)
16
Part #93310-315S4-00
Кольцо стопорное (Ref #17)
17
Part #93450-16068-00
Кольцо стопорное (Ref #17)
17
Part #93450-16068-00
Кольцо стопорное (Ref #17)
17
Part #93450-16068-00
Кольцо стопорное (Ref #17)
17
Part #93450-16068-00
Ведущая шестерня (Ref #18)
18
Part #4JT-11536-00-00
GEAR, PRIMARY DRIVE (Ref #19)
19
Part #4JT-16111-01-00
Washer, Plate (Ref #20)
20
Part #90201-10144-00
Болт (Ref #21)
21
Part #90105-10445-00
-
144JT-11611-00-00
Кольцо поршневое
1Replaced by 4JT-11611-11-00 Доступно: Нет в наличии
-
-
Цена: 3 740.00 р.
Доступно: 2
-
