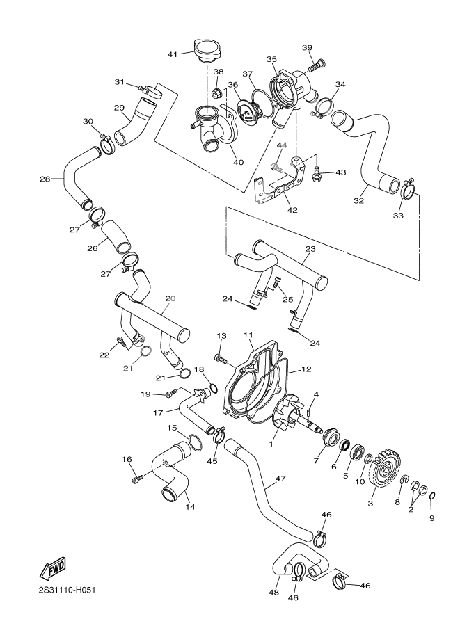
Водяной насос
Водяной насос
Impeller Shaft Assy (Ref #1)
1
Part #2S3-12450-00
WASHER, PLATE (Ref #2)
2
Part #90201-08067
Gear, Impeller Shaft (Ref #3)
3
Part #2S3-12459-00
Pin, Dowel (Ref #4)
4
Part #93603-16219
ベアリング (B6001) (Ref #5)
5
Part #93306-00105
OIL SEAL (SD 12-22-5 HS) (Ref #6)
6
Part #93102-12106
. SEAL, MECHANICAL (Ref #7)
7
Part #5VK-12438-00
. CIRCLIP (Ref #8)
8
Part #99009-12400
Circlip (Ref #9)
9
Part #93440-07182
. WASHER, PLATE (Ref #10)
10
Part #90201-12541
Cover, Housing (Ref #11)
11
Part #2S3-12422-00
GASKET, COVER (Ref #12)
12
Part #2S3-12414-00
. BOLT, HEXAGON SOCKET HEAD (Ref #13)
13
Part #90110-06274
PIPE 3 (Ref #14)
14
Part #2S3-12483-00
O-RING (Ref #15)
15
Part #93210-27194
Bolt, Hexagon Socket Head (Ref #16)
16
Part #90110-06247
PIPE 5 (Ref #17)
17
Part #2S3-12485-00
O-RING (Ref #18)
18
Part #93210-14104
PIPE 1 (Ref #20)
20
Part #2S3-12481-00
O-RING (Ref #21)
21
Part #93210-15414
O-RING (Ref #21)
21
Part #93210-15414
O-RING (Ref #21)
21
Part #93210-15414
O-RING (Ref #21)
21
Part #93210-15414
Bolt, Hexagon Socket Head (Ref #22)
22
Part #91312-06016
PIPE 2 (Ref #23)
23
Part #2S3-12482-00
HOSE 6 (Ref #26)
26
Part #2S3-12589-00
HOSE CLAMP ASSY (Ref #27)
27
Part #90450-28014
HOSE CLAMP ASSY (Ref #27)
27
Part #90450-28014
HOSE CLAMP ASSY (Ref #27)
27
Part #90450-28014
HOSE CLAMP ASSY (Ref #27)
27
Part #90450-28014
PIPE 4 (Ref #28)
28
Part #2S3-12484-00
HOSE 7 (Ref #29)
29
Part #2S3-12551-00
HOSE CLAMP ASSY (Ref #31)
31
Part #90450-32015
HOSE 2 (Ref #32)
32
Part #2S3-1243E-00
HOUSING, THERMOSTAT (Ref #35)
35
Part #2S3-12417-00
. サーモスタツト (Ref #36)
36
Part #5LP-12411-00
O-RING (Ref #37)
37
Part #93210-49046
NUT, FLANGE (Ref #38)
38
Part #95702-06500
BOLT (Ref #39)
39
Part #2S3-12615-00
SUPT, FILLER NECK (Ref #40)
40
Part #2S3-12591-00
CAP, RADIATOR (Ref #41)
41
Part #5SL-12462-00
STAY (Ref #42)
42
Part #2S3-12443-00
. BOLT, FLANGE (Ref #43)
43
Part #90105-06081
BOLT (Ref #44)
44
Part #90111-06054
Hose Clamp Assy (Ref #45)
45
Part #90450-25037
HOSE 5 (Ref #47)
47
Part #2S3-12588-00
HOSE 4 (Ref #48)
48
Part #2S3-12579-00
