Задняя подвеска
Задняя подвеска
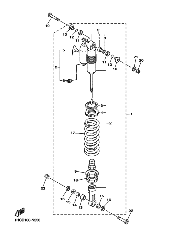
Shock Absorber Assy, Rear (Ref #1)
1
Part #5UM-22210-F1-00
Гайка (Ref #3)
3
Part #3SP-22234-00-00
Основание пружины верхнее (Ref #4)
4
Part #3SP-22213-00-00
Ярлык предупркждающий (Ref #5)
5
Part #4AA-22259-40-00
Колпачок (Ref #6)
6
Part #509-23184-L0-00
Втулка амортизатора (Ref #7)
7
Part #4JX-22226-00-00
Стопор (Ref #8)
8
Part #5DH-23183-00-00
Основание пружины (Ref #9)
9
Part #5MV-22224-00-00
Втулка (Ref #10)
10
Part #1C3-22253-50-00
Втулка (Ref #10)
10
Part #1C3-22253-50-00
Втулка (Ref #10)
10
Part #1C3-22253-50-00
Втулка (Ref #10)
10
Part #1C3-22253-50-00
PLATE, SEAL DAMPER (Ref #11)
11
Part #3JE-22475-00-00
PLATE, SEAL DAMPER (Ref #11)
11
Part #3JE-22475-00-00
PLATE, SEAL DAMPER (Ref #11)
11
Part #3JE-22475-00-00
PLATE, SEAL DAMPER (Ref #11)
11
Part #3JE-22475-00-00
Уплотнение (кольцо) (Ref #12)
12
Part #4EW-22474-00-00
Уплотнение (кольцо) (Ref #12)
12
Part #4EW-22474-00-00
Уплотнение (кольцо) (Ref #12)
12
Part #4EW-22474-00-00
Уплотнение (кольцо) (Ref #12)
12
Part #4EW-22474-00-00
Подшипник (Ref #13)
13
Part #5UN-22176-00-00
Втулка (Ref #14)
14
Part #5MV-22184-00-00
Втулка (Ref #15)
15
Part #5MV-22253-00-00
Втулка (Ref #15)
15
Part #5MV-22253-00-00
Втулка (Ref #15)
15
Part #5MV-22253-00-00
Втулка (Ref #15)
15
Part #5MV-22253-00-00
Пыльник (Ref #16)
16
Part #5NY-22475-00-00
Пыльник (Ref #16)
16
Part #5NY-22475-00-00
Пыльник (Ref #16)
16
Part #5NY-22475-00-00
Пыльник (Ref #16)
16
Part #5NY-22475-00-00
Пружина (K=52N/M) (Ref #17)
17
Part #5UN-22212-50-00
Корпус основания пружины (Ref #18)
18
Part #5XE-22214-00-00
Болт 2 (Ref #19)
19
Part #5XE-22242-01-00
Гайка (Ref #20)
20
Part #956-02102-00-00
Washer, Plate (Ref #21)
21
Part #92990-10200-00
Болт (Ref #22)
22
Part #5NY-22241-00-00
Гайка самоконтрящаяся (Ref #23)
23
Part #90185-10012-00
