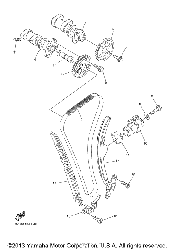
Camshaft chain
Camshaft chain
Распредвал 1 (Ref #1)
1
Part #3D7-12171-00-00
Звёздочка распредвала 1 (Ref #2)
2
Part #3D7-12176-00-00
Болт (Ref #3)
3
Part #90105-07004-00
Распредвал 2 (Ref #4)
4
Part #3D7-12181-00-00
Декомпрессор (Ref #5)
5
Part #3D7-12280-00-00
PIN, DECOMPRESSION L (Ref #7)
7
Part #3D7-12284-01-00
Рычаг (Ref #8)
8
Part #3D7-12290-00-00
Цепь (98XRH2010-118M) (Ref #9)
9
Part #94591-57118-00
Натяжитель цепи (Ref #10)
10
Part #3D7-12210-11-00
Прокладка натяжителя цепи (Ref #11)
11
Part #15B-12213-00-00
BOLT (Ref #12)
12
Part #95022-06025-00
Washer, Needle Valve (Ref #13)
13
Part #90430-06014-00
Планка поддержки цепи (успокоитель) (Ref #14)
14
Part #3D7-12231-00-00
Крепление успокоителя (Ref #15)
15
Part #3D7-12233-00-00
BOLT (Ref #16)
16
Part #901-1006X-26-00
Планка натяжителя цепи (Ref #16)
16
Part #3D7-12241-00-00
-
-
Цена: 4 870.00 р.
Доступно: 0
-
