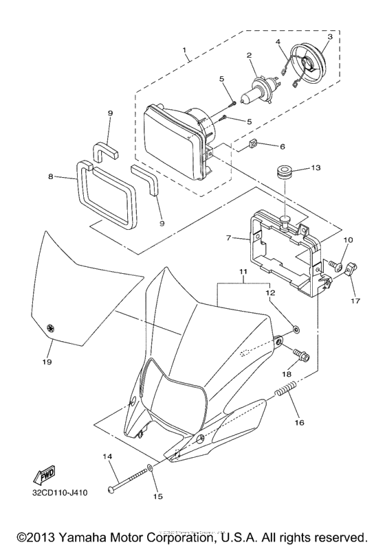
Headlight
Headlight
Блок освещения (Ref #1)
1
Part #32C-84310-00-00
Лампа фары (12V-60/55W) (Ref #2)
2
Part #YMC-00903-00-00
Лампа фары (12V-60/55W) (Ref #2)
2
Part #5V2-84314-00-XX
Лампа фары (12V-60/55W) (Ref #2)
2
Part #5VK-H4314-00-00
Крышка лампы (Ref #3)
3
Part #32D-84378-00-00
Пружина (Ref #4)
4
Part #32D-84335-00-00
Винт (Ref #5)
5
Part #32D-84726-00-00
Винт (Ref #5)
5
Part #32D-84726-00-00
Винт (Ref #5)
5
Part #32D-84726-00-00
Винт (Ref #5)
5
Part #32D-84726-00-00
Гайка (Ref #6)
6
Part #32D-84117-00-00
Крепление фары (Ref #7)
7
Part #32D-84118-00-00
Демпфер (Ref #8)
8
Part #32D-84527-00-00
Демпфер (Ref #9)
9
Part #32D-84553-00-00
Демпфер (Ref #9)
9
Part #32D-84553-00-00
Демпфер (Ref #9)
9
Part #32D-84553-00-00
Демпфер (Ref #9)
9
Part #32D-84553-00-00
BOLT (Ref #10)
10
Part #92017-06016-00
Корпус фары (синий) (Ref #11)
11
Part #32D-84330-00-00
Гайка (Ref #12)
12
Part #90183-05068-00
Втулка демпфирующая (Ref #13)
13
Part #90480-16008-00
Screw, adjusting (Ref #14)
14
Part #90157-04001-00
Washer, Plate (Ref #15)
15
Part #92990-04600-00
Пружина, винт (Ref #16)
16
Part #341-84332-60-00
Nut, adjusting (Ref #17)
17
Part #198-84334-60-00
Болт (Ref #18)
18
Part #90105-06064-00
Наклейка (Ref #19)
19
Part #32D-8411B-00-00
-
232D-84314-00-00
Лампа фары (12V-60/55W)
1Replaced by 5V2-84314-00-XX Доступно: Нет в наличии
-
14341-84331-60-00
Screw, adjusting
2Replaced by 90157-04001-00 Доступно: Нет в наличии
