Starting motor
Starting motor
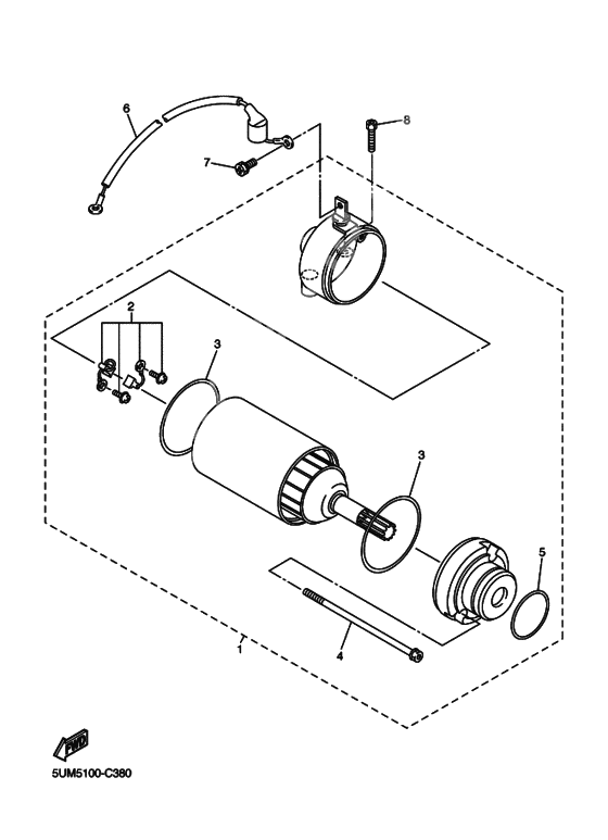
Стартер электрический (Ref #1)
1
Part #5UM-81890-10-00
Щётки, комплект (Ref #2)
2
Part #5UM-81801-10-00
Прокладка крышки (Ref #3)
3
Part #5UM-81861-00-00
Прокладка крышки (Ref #3)
3
Part #5UM-81861-00-00
Прокладка крышки (Ref #3)
3
Part #5UM-81861-00-00
Прокладка крышки (Ref #3)
3
Part #5UM-81861-00-00
Болт (Ref #4)
4
Part #5UM-81828-10-00
Кольцо уплотнительное (Ref #5)
5
Part #93210-25711-00
Провод стартера (Ref #6)
6
Part #5UM-8183G-20-00
Болт (Ref #7)
7
Part #5TJ-81828-01-00
BOLT (Ref #8)
8
Part #91317-06025-00
