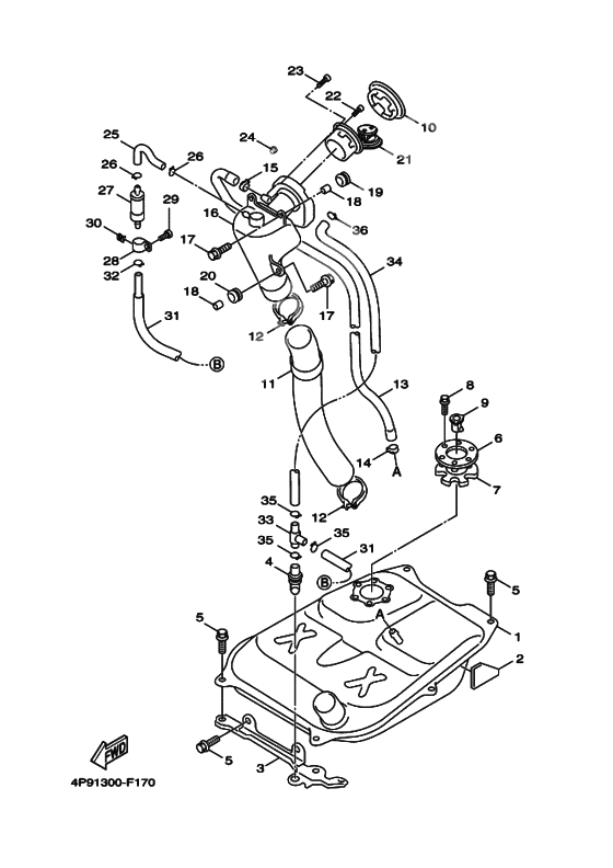
Tank fuel
Tank fuel
Fuel tank comp (Ref #1)
1
Part #4C6-F4110-10-33
Дэмпфер соединения (Ref #2)
2
Part #5ML-F4183-00-00
Stay, Fuel Tank 1 (Ref #3)
3
Part #5ML-F4115-00-00
GROMMET (Ref #4)
4
Part #5ML-F4339-00-00
BRACKET, FUEL PUMP (Ref #6)
6
Part #3D0-F4491-00-00
Валик (Ref #7)
7
Part #5CA-2414G-01-00
Clamp 1 (Ref #8)
8
Part #5VU-24135-00-00
BOLT (Ref #8)
8
Part #90101-05396-00
CAP (Ref #10)
10
Part #1P3-F467E-00-00
Pipe 6 (Ref #11)
11
Part #5ML-F4316-00-00
Зажим шланга (Ref #12)
12
Part #904-50558-03-00
Зажим шланга (Ref #12)
12
Part #904-50558-03-00
Зажим шланга (Ref #12)
12
Part #904-50558-03-00
Зажим шланга (Ref #12)
12
Part #904-50558-03-00
Pipe 7 (Ref #13)
13
Part #4C6-F4317-00-00
CLIP (Ref #14)
14
Part #90468-08812-00
CLIP (Ref #15)
15
Part #90467-20050-00
Sub Fuel Tank (Ref #16)
16
Part #4C6-F4280-00-00
Screw, With Washer (Ref #17)
17
Part #90119-06864-00
Screw, With Washer (Ref #17)
17
Part #90119-06864-00
Screw, With Washer (Ref #17)
17
Part #90119-06864-00
Screw, With Washer (Ref #17)
17
Part #90119-06864-00
COLLAR (Ref #18)
18
Part #90387-07598-00
COLLAR (Ref #18)
18
Part #90387-07598-00
COLLAR (Ref #18)
18
Part #90387-07598-00
COLLAR (Ref #18)
18
Part #90387-07598-00
Втулка (Ref #19)
19
Part #90480-18290-00
Grommet (Ref #20)
20
Part #90480-01326-00
Cap assy (Ref #21)
21
Part #4P9-F4602-02-00
Cap assy (Ref #21)
21
Part #4P9-F4602-03-00
Screw, Flat Fillister (Ref #22)
22
Part #90155-04800-00
Screw, Flat Fillister (Ref #23)
23
Part #90155-04801-00
Гайка U (Ref #24)
24
Part #956-17041-00-00
Pipe 3 (Ref #25)
25
Part #5ML-F4313-00-00
Clip 101235600 (Ref #26)
26
Part #90467-08003-00
Clip 101235600 (Ref #26)
26
Part #90467-08003-00
Clip 101235600 (Ref #26)
26
Part #90467-08003-00
Clip 101235600 (Ref #26)
26
Part #90467-08003-00
Roll Over Valve Assy (Ref #27)
27
Part #5ML-F4180-20-00
CLAMP (Ref #28)
28
Part #90461-15801-00
Screw,tapping (Ref #29)
29
Part #97707-50014-00
Nut, Spring (Ref #30)
30
Part #90183-05042-00
Pipe 4 (Ref #31)
31
Part #5ML-F4314-00-00
Pipe 4 (Ref #31)
31
Part #5ML-F4314-00-00
Pipe 4 (Ref #31)
31
Part #5ML-F4314-00-00
Pipe 4 (Ref #31)
31
Part #5ML-F4314-00-00
CLIP (Ref #32)
32
Part #90467-090A2-00
Соединение трубки (Ref #33)
33
Part #3UH-F4376-00-00
Pipe, overflow (Ref #34)
34
Part #4C6-F4318-00-00
CLIP (Ref #36)
36
Part #90467-12052-00
-
897507-05520-00
Screw, With Washer
6Replaced by 90101-05396-00 Доступно: Нет в наличии
-
275ML-F4180-00-00
Roll Over Valve Assy
1Replaced by 5ML-F4180-20-00 Доступно: Нет в наличии
