Передний тормозной цилиндр

Передний тормозной цилиндр

Передний тормозной цилиндр
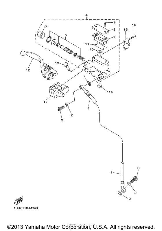
Hose, Brake 1 (Ref #1)
1
Part #1DX-25872-00-00
Hose, Brake 1 (Ref #1)
1
Part #1DX-25872-00-00
Hose, Brake 1 (Ref #1)
1
Part #1DX-25872-00-00
Hose, Brake 1 (Ref #1)
1
Part #1DX-25872-00-00
Болт соединяющий (Ref #3)
3
Part #90401-10172-00
Болт соединяющий (Ref #3)
3
Part #90401-10172-00
Болт соединяющий (Ref #3)
3
Part #90401-10172-00
Болт соединяющий (Ref #3)
3
Part #90401-10172-00
Цилиндр тормозной главный, комплект (Ref #4)
4
Part #5XE-W2587-00-00
Cylinder Kit, Master (Ref #5)
5
Part #5NY-W0041-01-00
Ботинок главного цилиндра (Ref #6)
6
Part #5NY-25868-00-00
Диафрагма резервуара (Ref #7)
7
Part #5XE-25854-00-00
Крышка (Ref #8)
8
Part #5MV-25852-01-00
Screw, Pan Head (Ref #9)
9
Part #98707-04012-00
Сепаратор assy (Ref #10)
10
Part #5CG-25715-00-00
Плавающий элемент резервуара (Ref #11)
11
Part #5XE-25853-00-00
Lever 2 (Ref #12)
12
Part #1C3-83922-51-00
Болт рычага (Ref #13)
13
Part #5MV-2589F-00-00
Nut, flange (Ref #14)
14
Part #95780-06500-00
Кронштейн (Ref #15)
15
Part #5MV-25867-00-00
Болт (Ref #16)
16
Part #5MV-25833-00-00
Cover, Handle Lever 1 (Ref #17)
17
Part #5NY-26372-00-00
+ -
  • 1
    1DX-25872-00-00

    Hose, Brake 1

    1
    Доступно: Нет в наличии
  • 2
    90430-10005-00

    Washer, Needle Valve

    4
    Доступно: Нет в наличии
  • 3
    90401-10172-00

    Болт соединяющий

    2
    Доступно: Нет в наличии
  • 4
    5XE-W2587-00-00

    Цилиндр тормозной главный, комплект

    1
    Доступно: Нет в наличии
  • 4
    5XE-W2587-10-00

    Цилиндр тормозной главный, комплект

    1
    Replaced by 5XE-W2587-00-00 Доступно: Нет в наличии
  • 5
    5NY-W0041-01-00

    Cylinder Kit, Master

    1
    Доступно: Нет в наличии
  • 6
    5NY-25868-00-00

    Ботинок главного цилиндра

    1
    Доступно: Нет в наличии
  • 7
    5XE-25854-00-00

    Диафрагма резервуара

    1
    Доступно: Нет в наличии
  • 8
    5MV-25852-01-00

    Крышка

    1
    Доступно: Нет в наличии
  • 9
    98706-04012-00

    Screw, Pan Head

    2
    Replaced by 98707-04012-00 Доступно: Нет в наличии
  • 9
    98707-04012-00

    Screw, Pan Head

    2
    Доступно: Нет в наличии
  • 10
    5CG-25715-00-00

    Сепаратор assy

    1
    Доступно: Нет в наличии
  • 11
    5XE-25853-00-00

    Плавающий элемент резервуара

    1
    Доступно: Нет в наличии
  • 12
    1C3-83922-51-00

    Lever 2

    1
    Доступно: Нет в наличии
  • 13
    5MV-2589F-00-00

    Болт рычага

    1
    Доступно: Нет в наличии
  • 14
    95701-06500-00

    Гайка

    1
    Replaced by 95780-06500-00 Доступно: Нет в наличии
  • 14
    95780-06500-00

    Nut, flange

    1
    Доступно: Нет в наличии
  • 15
    5MV-25867-00-00

    Кронштейн

    1
    Доступно: Нет в наличии
  • 16
    5MV-25833-00-00

    Болт

    2
    Доступно: Нет в наличии
  • 17
    5NY-26372-00-00

    Cover, Handle Lever 1

    1
    Доступно: Нет в наличии