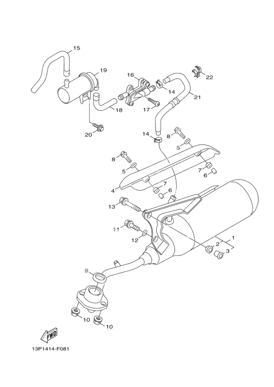
Выхлопная система
Выхлопная система
Труба выхлопа (Ref #1)
1
Part #1TS-WE461-00-98
GROMMET (Ref #2)
2
Part #4VP-E4445-00-00
COLLAR (Ref #3)
3
Part #4VP-E4779-00-00
Protector Assy (Ref #4)
4
Part #3P3-E4708-00-00
Washer, Plate (Ref #5)
5
Part #90201-06049-00
Washer, Plate (Ref #5)
5
Part #90201-06049-00
Washer, Plate (Ref #5)
5
Part #90201-06049-00
Washer, Plate (Ref #5)
5
Part #90201-06049-00
COLLAR (Ref #6)
6
Part #90387-06023-00
COLLAR (Ref #6)
6
Part #90387-06023-00
COLLAR (Ref #6)
6
Part #90387-06023-00
COLLAR (Ref #6)
6
Part #90387-06023-00
PLATE, SEAL DAMPER (Ref #7)
7
Part #90480-12804-00
PLATE, SEAL DAMPER (Ref #7)
7
Part #90480-12804-00
PLATE, SEAL DAMPER (Ref #7)
7
Part #90480-12804-00
PLATE, SEAL DAMPER (Ref #7)
7
Part #90480-12804-00
Винт, бандаж (Ref #8)
8
Part #98980-06016-00
Винт, бандаж (Ref #8)
8
Part #98980-06016-00
Винт, бандаж (Ref #8)
8
Part #98980-06016-00
Винт, бандаж (Ref #8)
8
Part #98980-06016-00
Прокладка трубы (Ref #9)
9
Part #1P4-E4613-00-00
Nut, flange (Ref #10)
10
Part #90179-08491-00
Nut, flange (Ref #10)
10
Part #90179-08491-00
Nut, flange (Ref #10)
10
Part #90179-08491-00
Nut, flange (Ref #10)
10
Part #90179-08491-00
BOLT (Ref #11)
11
Part #95817-08025-00
ワツシヤ,プレ−ト (Ref #12)
12
Part #902-01088-52-00
BOLT (Ref #13)
13
Part #90105-08002-00
CLIP (Ref #14)
14
Part #90468-08812-00
CLIP (Ref #14)
14
Part #90468-08812-00
CLIP (Ref #14)
14
Part #90468-08812-00
CLIP (Ref #14)
14
Part #90468-08812-00
Hose, Bend 5 (Ref #15)
15
Part #13P-E4885-00-00
Air Induction System Assy (Ref #16)
16
Part #3B3-E4803-00-00
BOLT (Ref #17)
17
Part #92017-06012-00
Hose, Bend 4 (Ref #18)
18
Part #13P-E4884-00-00
Фильтр воздуха (Ref #19)
19
Part #13P-E4806-00-00
BOLT (Ref #20)
20
Part #90109-063F1-00
Hose, Bend 3 (Ref #21)
21
Part #13P-E4883-00-00
CLIP (Ref #22)
22
Part #90464-20801-00
