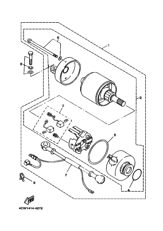
Starting motor
Starting motor
Starting Motor Assy (Ref #1)
1
Part #4TE-H1800-10-00
Electric Start Kit (Ref #2)
2
Part #4CW-W8180-10-00
Щётки (Ref #3)
3
Part #3KW-H1801-00-00
Кольцо уплотнительное (Ref #4)
4
Part #93210-25711-00
Washer, Needle Valve (Ref #5)
5
Part #3KW-H1861-00-00
Screw set (Ref #6)
6
Part #3UH-H1828-01-00
Канат (Ref #7)
7
Part #4TE-H183G-00-00
Screw, With Washer (Ref #8)
8
Part #97507-06625-00
CLAMP (Ref #9)
9
Part #90464-23811-00
-
24CW-W8180-00-00
Electric Start Kit
1Replaced by 4CW-W8180-10-00 Доступно: Нет в наличии
-
493210-26668-00
Washer, Needle Valve
1Replaced by 93210-25711-00 Доступно: Нет в наличии
