Taillight(s)
Taillight(s)
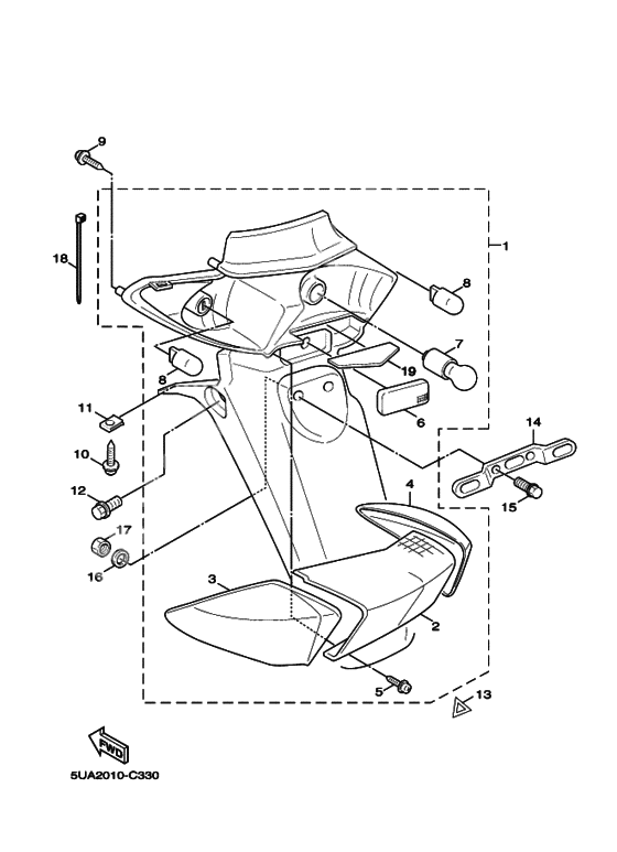
Taillight assy (Ref #1)
1
Part #5ML-H4700-01-00
Taillight assy (Ref #1)
1
Part #5ML-H4700-02-00
Lens, taillight (Ref #2)
2
Part #5ML-H4721-01-00
Lens, Flasher (Ref #3)
3
Part #5ML-H3332-01-00
Lens, Flasher 2 (Ref #4)
4
Part #5ML-H3342-01-00
Screw, Pan Head (Ref #5)
5
Part #97707-04616-00
Rear Reflector Assy (Ref #6)
6
Part #5CP-H5130-01-00
Bulb (12V-21/5W) (Ref #7)
7
Part #4VP-H4714-00-00
Bulb, Flasher (12V-16W) (Ref #8)
8
Part #5ML-H3311-00-00
Bulb, Flasher (12V-16W) (Ref #8)
8
Part #5ML-H3311-00-00
Bulb, Flasher (12V-16W) (Ref #8)
8
Part #5ML-H3311-00-00
Bulb, Flasher (12V-16W) (Ref #8)
8
Part #5ML-H3311-00-00
Screw,tapping (Ref #9)
9
Part #90167-05077-00
Screw, Truss Head Tapping (Ref #10)
10
Part #97707-50012-00
Nut, Spring (Ref #11)
11
Part #90183-05042-00
BOLT (Ref #12)
12
Part #90109-063F1-00
Stripe, Rear Fender (Ref #13)
13
Part #50V-21619-00-00
Bracket, license (Ref #14)
14
Part #5UA-H4751-00-00
BOLT (Ref #15)
15
Part #95817-06014-00
Washer, Plate (Ref #16)
16
Part #90201-06020-00
Гайка U (Ref #17)
17
Part #95617-06100-00
BAND (Ref #18)
18
Part #1UA-82591-00-00
Lens, Licence Light (Ref #19)
19
Part #5ML-H4743-00-00
-
15ML-H4700-00-00
Taillight assy
1Replaced by 5ML-H4700-02-00 Доступно: Нет в наличии
-
25ML-H4721-00-00
Lens, taillight
1Replaced by 5ML-H4721-01-00 Доступно: Нет в наличии
-
45ML-H3342-00-00
Lens, Flasher 2
1Replaced by 5ML-H3342-01-00 Доступно: Нет в наличии
-
195ML-F4743-00-00
Lens, Licence Light
1Replaced by 5ML-H4743-00-00 Доступно: Нет в наличии
