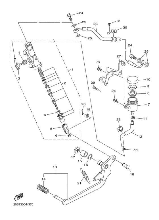
Задний тормозной цилиндр
Задний тормозной цилиндр
Цилиндр тормозной в сборе (Ref #1)
1
Part #2D1-2583V-00-00
Детали тормозного цилиндра, комплект (Ref #2)
2
Part #5VX-W0042-51-00
Штуцер (Ref #3)
3
Part #2D1-2582A-00-00
Кольцо уплотнительное (Ref #4)
4
Part #4BP-2585F-01-00
Наконечник толкателя гидроцилиндра (Ref #5)
5
Part #4BP-27222-02-00
Гайка (Ref #6)
6
Part #90170-08010-00
Гайка (Ref #6)
6
Part #90170-08010-00
Гайка (Ref #6)
6
Part #90170-08010-00
Гайка (Ref #6)
6
Part #90170-08010-00
Бачок тормозной жидкости (Ref #7)
7
Part #4P5-25894-00-00
Diaphragm, Reservoir (Ref #8)
8
Part #5SL-25854-00-00
Втулка диафрагмы (Ref #9)
9
Part #5SL-25855-00-00
Стакан резервуара (Ref #10)
10
Part #5SL-25852-00-00
CLIP (Ref #11)
11
Part #90467-11044-00
CLIP (Ref #11)
11
Part #90467-11044-00
CLIP (Ref #11)
11
Part #90467-11044-00
CLIP (Ref #11)
11
Part #90467-11044-00
Трубка (Ref #12)
12
Part #20S-25895-00-00
Педаль тормоза (Ref #13)
13
Part #20S-27200-01-00
Крышка педали (Ref #14)
14
Part #5EB-18113-00-00
Втулка (Ref #15)
15
Part #903-86141-71-00
Шайба волнистая (Ref #16)
16
Part #90206-14086-00
Болт (Ref #17)
17
Part #901-10061-19-00
Палец (Ref #18)
18
Part #90240-08005-00
Шайба (Ref #19)
19
Part #90201-08066-00
. PIN (Ref #20)
20
Part #91490-20025-00
. PIN (Ref #20)
20
Part #91490-20015-00
Пружина (Ref #21)
21
Part #90506-23008-00
CLAMP (Ref #22)
22
Part #90464-16003-00
Шланг тормозной 5 (Ref #23)
23
Part #20S-2581K-00-00
Болт-штуцер (Ref #24)
24
Part #90401-10020-00
Болт-штуцер (Ref #24)
24
Part #90401-10020-00
Болт-штуцер (Ref #24)
24
Part #90401-10020-00
Болт-штуцер (Ref #24)
24
Part #90401-10020-00
Болт с шайбой (Ref #26)
26
Part #90119-06137-00
Крепление бачка (Ref #27)
27
Part #20S-21228-00-00
Винт шестиугольный (Ref #28)
28
Part #90153-06034-00
BOLT (Ref #28)
28
Part #95817-06012-00
Крепление шланга (Ref #30)
30
Part #20S-2587A-00-00
BOLT (Ref #31)
31
Part #95022-06012-00
-
-
Цена: 550.00 р.
Доступно: 2
-
