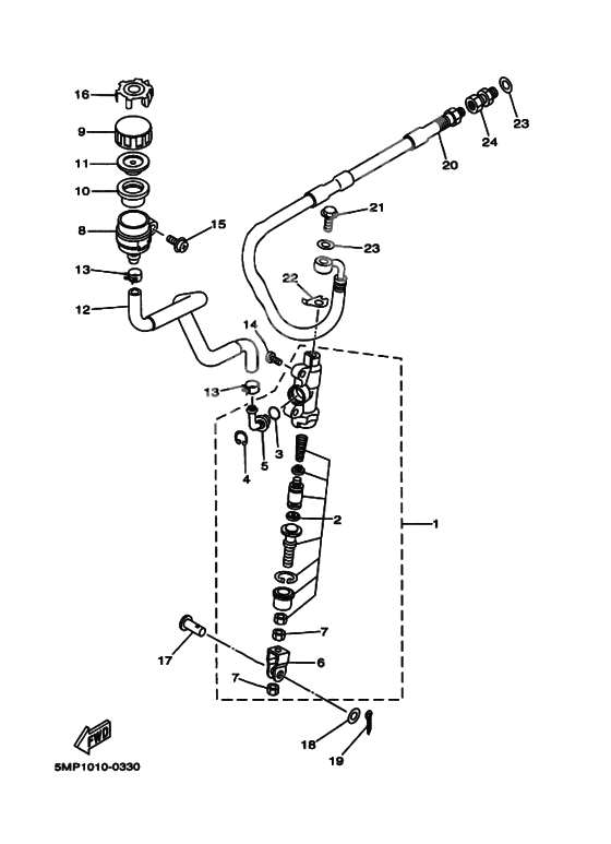
Rear master cylinder
Rear master cylinder
Rr Mstr Cylinder (Ref #1)
1
Part #3XP-2583V-00-00
Комплект главного цилиндра (Ref #2)
2
Part #1FK-W0042-50-00
Washer, Needle Valve (Ref #3)
3
Part #93210-15566-00
Circlip (Ref #4)
4
Part #2VN-25866-00-00
JOINT (Ref #5)
5
Part #2VN-2582A-50-00
JOINT (Ref #6)
6
Part #2YK-27222-00-00
Nut, flange (Ref #7)
7
Part #95337-08600-00
Nut, flange (Ref #7)
7
Part #95337-08600-00
Nut, flange (Ref #7)
7
Part #95337-08600-00
Nut, flange (Ref #7)
7
Part #95337-08600-00
Бак резервуарный (Ref #8)
8
Part #2VN-25894-00-00
Стакан резервуара (Ref #9)
9
Part #3XP-25852-50-00
Diaphragm, Reservoir (Ref #10)
10
Part #2VN-25854-00-00
Втулка диафрагмы (Ref #11)
11
Part #2VN-25855-00-00
Hose, Reservoir (Ref #12)
12
Part #5MP-25895-00-00
CLIP (Ref #13)
13
Part #90467-11044-00
CLIP (Ref #13)
13
Part #90467-11044-00
CLIP (Ref #13)
13
Part #90467-11044-00
CLIP (Ref #13)
13
Part #90467-11044-00
Screw, Pan Head (Ref #14)
14
Part #92017-08016-00
BOLT (Ref #15)
15
Part #95817-06016-00
Cover, Reservoir Tank (Ref #16)
16
Part #3ET-25888-00-00
Штифт, вилкообразный наконечник (Ref #17)
17
Part #90240-08124-00
Washer, Plate (Ref #18)
18
Part #90201-08083-00
Шплинт (Ref #19)
19
Part #91490-16020-00
Hose, Brake 2 (Ref #20)
20
Part #4JG-25873-02-00
BOLT (Ref #21)
21
Part #90401-10159-00
Шайба, стопорная (Ref #22)
22
Part #3YF-25844-00-00
JOINT (Ref #23)
23
Part #3LC-25885-00-00
JOINT (Ref #23)
23
Part #3LC-25885-00-00
JOINT (Ref #23)
23
Part #3LC-25885-00-00
JOINT (Ref #23)
23
Part #3LC-25885-00-00
-
23BN-W0042-50-00
Комплект главного цилиндра
1Replaced by 1FK-W0042-50-00 Доступно: Нет в наличии
-
393210-15620-00
Washer, Needle Valve
1Replaced by 93210-15566-00 Доступно: Нет в наличии
-
204JG-25873-01-00
Hose, Brake 2
1Replaced by 4JG-25873-02-00 Доступно: Нет в наличии
