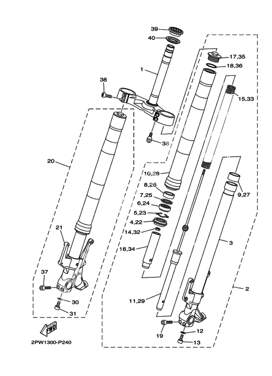
Вилка передней оси
Вилка передней оси
Under Bracket Comp (Ref #1)
1
Part #2PW-23340-00-00
Front Fork Assy (L.h) (Ref #2)
2
Part #2PW-23102-00-00
Inner Tube Comp. 1 (Ref #3)
3
Part #2PW-23110-00-00
Уплотнение (пыльник) (Ref #4)
4
Part #4EB-23144-00-00
Зажим сальника (Ref #5)
5
Part #26H-23156-00-00
Сальник (Ref #6)
6
Part #4EB-23145-01-00
Шайба сальника (Ref #7)
7
Part #36Y-23146-10-00
Направляющая втулка, пера вилки 1 (Ref #8)
8
Part #1RC-23125-00-00
Втулка (Ref #9)
9
Part #4FM-23171-40-00
Tube, Outer (L.h) (Ref #10)
10
Part #2PW-23126-00-00
Cylinder Comp., Front Fork (Ref #11)
11
Part #2PW-23170-00-00
Washer, Needle Valve (Ref #12)
12
Part #509-23158-L0-00
Bolt, Hexagon Socket Head (Ref #13)
13
Part #3D8-23181-00-00
Гайка (Ref #14)
14
Part #3LC-23357-00-00
Spring, Front Fork (Ref #15)
15
Part #2PW-23141-00-00
Втулка (Ref #16)
16
Part #5VY-23118-00-00
Гайка корпуса пера (Ref #17)
17
Part #2PW-23111-00-00
Кольцо уплотнительное (Ref #18)
18
Part #39P-23147-00-00
Bolt, Hexagon Socket Head (Ref #19)
19
Part #91314-08040-00
Front Fork Assy (R.h) (Ref #20)
20
Part #2PW-23103-00-00
Inner Tube Comp. 1 (Ref #21)
21
Part #2PW-23110-10-00
Cylinder Comp., Front Fork (Ref #29)
29
Part #2PW-23170-10-00
Болт (Ref #38)
38
Part #91317-08030-00
Болт (Ref #38)
38
Part #91317-08030-00
Болт (Ref #38)
38
Part #91317-08030-00
Болт (Ref #38)
38
Part #91317-08030-00
Подшипник (Ref #39)
39
Part #93399-99957-00
PLATE, SEAL DAMPER (Ref #40)
40
Part #3FV-23462-00-00
-
-
Цена: 2 730.00 р.
Доступно: 2
-
-
-
Цена: 840.00 р.
Доступно: 1
-
-
-
Цена: 2 170.00 р.
Доступно: 6
-
-
-
Цена: 1 110.00 р.
Доступно: 1
-
-
13278-23181-50-00
Bolt, Hexagon Socket Head
1Replaced by 3D8-23181-00-00 Доступно: Нет в наличии
-
-
Цена: 2 440.00 р.
Доступно: 1
-
