Передний тормоз
Передний тормоз
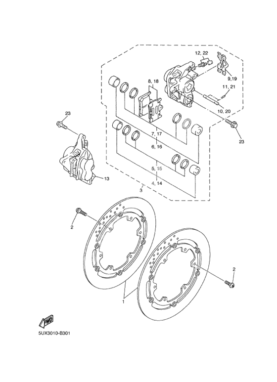
Тормозной диск (Ref #1)
1
Part #5PX-2581T-00-00
Болт (Ref #2)
2
Part #901-09062-54-00
Болт (Ref #2)
2
Part #901-09062-54-00
Болт (Ref #2)
2
Part #901-09062-54-00
Болт (Ref #2)
2
Part #901-09062-54-00
Суппорт тормозной левый (S3) (Ref #3)
3
Part #5UX-2580T-00-00
ピストン (Ref #4)
4
Part #4SV-25802-00-00
Caliper Seal Kit (Ref #5)
5
Part #3MA-25803-10-00
ピストン (Ref #6)
6
Part #4SV-25802-10-00
Caliper Seal Kit (Ref #7)
7
Part #3GM-25803-10-00
Brake pad kit (Ref #8)
8
Part #4SV-25805-00-00
Support, Pad (Ref #9)
9
Part #4SV-25919-00-00
. PIN (Ref #10)
10
Part #4SV-25924-00-00
CLIP (Ref #11)
11
Part #3GM-25925-00-00
Bleed Screw Kit (Ref #12)
12
Part #1J3-W0048-00-00
Суппорт тормозной правый (S3) (Ref #13)
13
Part #5UX-2580U-00-00
Screw, With Washer (Ref #23)
23
Part #90105-105A7-00
Screw, With Washer (Ref #23)
23
Part #90105-105A7-00
Screw, With Washer (Ref #23)
23
Part #90105-105A7-00
Screw, With Washer (Ref #23)
23
Part #90105-105A7-00
-
53MA-W0047-10-00
Caliper Seal Kit
1Replaced by 3MA-25803-10-00 Доступно: Нет в наличии
-
-
Цена: 5 100.00 р.
Доступно: 3
-
-
73GM-W0047-10-00
Caliper Seal Kit
1Replaced by 3GM-25803-10-00 Доступно: Нет в наличии
-
-
Цена: 4 810.00 р.
Доступно: 1
-
-
-
Цена: 560.00 р.
Доступно: 1
-
