Exhaust
Exhaust
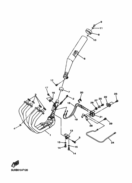
Exhaust Pipe Comp (Ref #1)
1
Part #5UX-14602-00-00
Датчик (Ref #2)
2
Part #5UX-8592A-00-00
Gasket, Exhaust Pipe (Ref #3)
3
Part #4BE-14613-00-00
Nut, U Flange (Ref #4)
4
Part #95604-08200-00
Болт (Ref #5)
5
Part #90105-08164-00
Muffler Comp. 1 (Ref #6)
6
Part #5UX-14703-00-00
Gasket, muffler (Ref #7)
7
Part #5YU-14714-00-00
CAP (Ref #8)
8
Part #5UX-14799-00-00
Болт (Ref #9)
9
Part #91380-06014-00
Шайба (Ref #10)
10
Part #90201-05017-00
Washer, Plate (Ref #11)
11
Part #929-90066-00-00
BOLT (Ref #12)
12
Part #95814-08035-00
Крепление (Ref #13)
13
Part #5UX-14791-00-00
Болт (Ref #14)
14
Part #97013-08025-00
Болт (Ref #14)
14
Part #97013-08025-00
Болт (Ref #14)
14
Part #97013-08025-00
Болт (Ref #14)
14
Part #97013-08025-00
Washer, Plate (Ref #15)
15
Part #92990-08600-00
Washer, Plate (Ref #15)
15
Part #92990-08600-00
Washer, Plate (Ref #15)
15
Part #92990-08600-00
Washer, Plate (Ref #15)
15
Part #92990-08600-00
Заслонка (Ref #16)
16
Part #5UX-14826-00-00
Болт с шайбой (Ref #17)
17
Part #90119-06115-00
Кабель 1 (Ref #18)
18
Part #5UX-1133E-01-00
Кабель 2 (Ref #19)
19
Part #5UX-1133F-01-00
Скоба (Ref #20)
20
Part #90464-20010-00
Сервомотор (Ref #21)
21
Part #2D1-85820-00-00
Крышка сервомотора (Ref #22)
22
Part #5VY-85829-01-00
Винт (Ref #23)
23
Part #97780-50514-00
Провод (Ref #24)
24
Part #5UX-82309-10-00
BOLT (Ref #25)
25
Part #95024-06020-00
Втулка демпфирующая (Ref #26)
26
Part #90480-14604-00
Втулка (Ref #27)
27
Part #90387-06M60-00
Крепление (Ref #28)
28
Part #5UX-2115C-00-00
BOLT (Ref #29)
29
Part #95022-06014-00
-
225VY-85829-00-00
Крышка сервомотора
1Replaced by 5VY-85829-01-00 Доступно: Нет в наличии
