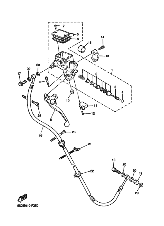
Front master cylinder
Front master cylinder
Главный цилиндр (Ref #1)
1
Part #5DM-W2587-01-00
Комплект главного цилиндра (Ref #2)
2
Part #5DM-W0041-50-00
Reservoir Cap Set (Ref #3)
3
Part #4HM-W2585-01-00
Diaphragm, Reservoir (Ref #4)
4
Part #4HM-25854-00-00
Screw, Pan Head (Ref #5)
5
Part #98707-04012-00
Lever 2 (Ref #6)
6
Part #5EB-83922-01-00
BOLT (Ref #7)
7
Part #3FV-2589F-00-00
Гайка U (Ref #8)
8
Part #95617-06100-00
Front Stop Switch Assy (Ref #9)
9
Part #4HM-83980-00-00
Screw, Pan Head (Ref #10)
10
Part #98517-04012-00
Washer, Plate (Ref #11)
11
Part #92990-04100-00
Washer, Plate (Ref #12)
12
Part #92990-04600-00
Кронштейн (Ref #13)
13
Part #4HM-25867-00-00
BOLT (Ref #14)
14
Part #91317-06020-00
Шланг тормозной 1 (Ref #15)
15
Part #5WM-25872-00-00
Шланг тормозной 2 (Ref #16)
16
Part #5WM-25873-00-00
Болт-штуцер (Ref #17)
17
Part #90401-10038-00
Washer, Needle Valve (Ref #18)
18
Part #90430-10005-00
Скоба (Ref #19)
19
Part #90461-10008-00
Скоба (Ref #19)
19
Part #90461-10008-00
Скоба (Ref #19)
19
Part #90461-10008-00
Скоба (Ref #19)
19
Part #90461-10008-00
BOLT (Ref #20)
20
Part #95027-06010-00
BOLT (Ref #20)
20
Part #95027-06010-00
BOLT (Ref #20)
20
Part #95027-06010-00
BOLT (Ref #20)
20
Part #95027-06010-00
Держатель шланга тормоза (Ref #21)
21
Part #4KG-25887-01-00
BOLT (Ref #22)
22
Part #90105-060A0-00
Держатель шланга тормоза 2 (Ref #23)
23
Part #4KG-25876-01-00
Болт соединяющий (Ref #25)
25
Part #90401-10172-00
Болт соединяющий (Ref #25)
25
Part #90401-10172-00
Болт соединяющий (Ref #25)
25
Part #90401-10172-00
Болт соединяющий (Ref #25)
25
Part #90401-10172-00
-
1098502-04012-00
Screw, Pan Head
1Replaced by 98517-04012-00 Доступно: Нет в наличии
