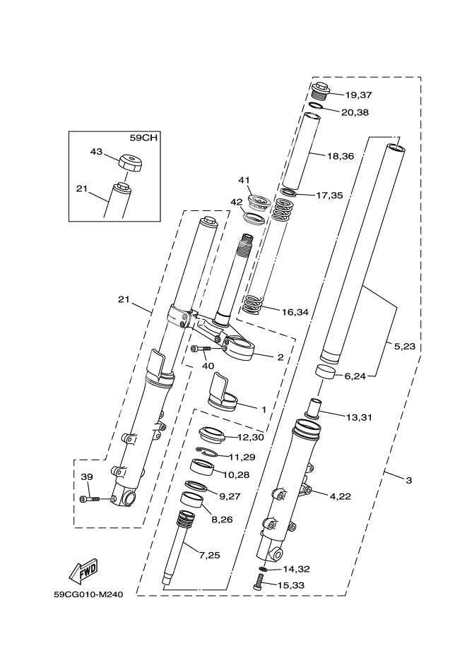
FRONT FORK
FRONT FORK
COVER (Ref #1)
1
Part #4PU-2331G-00
UNDER BRACKET COMP. (Ref #2)
2
Part #4B5-23340-10
FRONT FORK ASSY (L.H) (Ref #3)
3
Part #4B5-23102-00
. チユーブ,アウタ L (Ref #4)
4
Part #4B5-23126-00
. INNER TUBE COMP.1 (Ref #5)
5
Part #4B5-23110-00
. . PISTON, FRONT FORK (Ref #6)
6
Part #5EA-23171-30
. CYLINDER COMP., FRONT FORK (Ref #7)
7
Part #4B5-23170-00
. METAL, SLIDE 1 (Ref #8)
8
Part #5EB-23125-00
. . WASHER, OIL SEAL (Ref #9)
9
Part #4V4-23146-L0
. . OIL SEAL (Ref #10)
10
Part #4PU-23145-01
. . RING, SNAP (Ref #11)
11
Part #4V4-23153-L0
. . SEAL, DUST (Ref #12)
12
Part #4PU-23144-00
. SPINDLE, TAPER (Ref #13)
13
Part #4YR-23173-00
. GASKET (Ref #14)
14
Part #509-23158-L0
. BOLT, HEXAGON SOCKET HEAD (Ref #15)
15
Part #278-23181-50
. スプリング,フロントフオーク (Ref #16)
16
Part #4B5-23141-00
. WASHER, SPRING UPPER (Ref #17)
17
Part #3LR-23149-00
. SPACER (Ref #18)
18
Part #5WM-23118-00
. ボルトキヤツプ (Ref #19)
19
Part #3TJ-23111-00
. . O-RING (Ref #20)
20
Part #4V4-23188-L0
FRONT FORK ASSY (R.H) (Ref #21)
21
Part #59C-23103-00
FRONT FORK ASSY (R.H) (Ref #21)
21
Part #59C-23103-00
FRONT FORK ASSY (R.H) (Ref #21)
21
Part #59C-23103-00
FRONT FORK ASSY (R.H) (Ref #21)
21
Part #59C-23103-00
. チユーブ,アウタ R (Ref #22)
22
Part #4B5-23136-00
. BOLT (Ref #39)
39
Part #91312-08040
Bolt, Hexagon Socket Head (Ref #40)
40
Part #91312-08025
BEARING (Ref #41)
41
Part #93399-99957
SEAL, STEERING (Ref #42)
42
Part #3FV-23462-00
