Front
Front
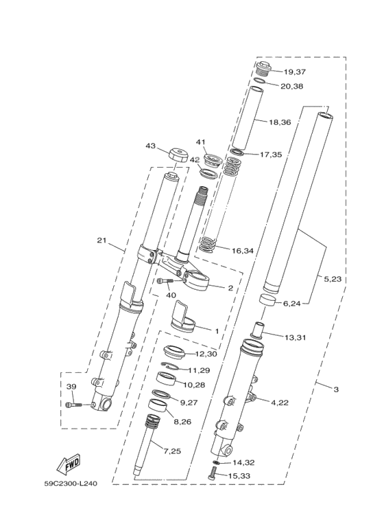
Крышка корпуса пера (Ref #1)
1
Part #4PU-2331G-00-00
Ось рулевая (Ref #2)
2
Part #4B5-23340-10-00
Перо вилки левое (Ref #3)
3
Part #4B5-23102-00-00
Корпус пера левого (Ref #4)
4
Part #4B5-23126-00-00
Трубка внутренняя (Ref #5)
5
Part #4B5-23110-00-00
Скользящая втулка, передней вилки (Ref #6)
6
Part #5EA-23171-30-00
Цилиндр (Ref #7)
7
Part #4B5-23170-00-00
Металическая вставка 1 (Ref #8)
8
Part #5EB-23125-00-00
Шайба сальника (Ref #9)
9
Part #4V4-23146-L0-00
Oil seal (Ref #10)
10
Part #4PU-23145-01-00
RETAINER, MAGNETO BASE (Ref #11)
11
Part #4V4-23153-L0-00
PLATE, SEAL DAMPER (Ref #12)
12
Part #4PU-23144-00-00
Втулка с фланцем (Ref #13)
13
Part #4YR-23173-00-00
Washer, Needle Valve (Ref #14)
14
Part #509-23158-L0-00
Bolt, Hexagon Socket Head (Ref #15)
15
Part #3D8-23181-00-00
Пружина (Ref #16)
16
Part #4B5-23141-00-00
Шайба пружины (Ref #17)
17
Part #3LR-23149-00-00
SPACER (Ref #18)
18
Part #5WM-23118-00-00
Гайка корпуса пера (Ref #19)
19
Part #3TJ-23111-00-00
Washer, Needle Valve (Ref #20)
20
Part #4V4-23188-L0-00
Перо вилки правое (Ref #21)
21
Part #59C-23103-00-00
Корпус пера (Ref #22)
22
Part #4B5-23136-00-00
Bolt, Hexagon Socket Head (Ref #39)
39
Part #91314-08040-00
BOLT (Ref #40)
40
Part #91317-08025-00
Подшипник (Ref #41)
41
Part #93399-99957-00
PLATE, SEAL DAMPER (Ref #42)
42
Part #3FV-23462-00-00
Колпачок гайки корпуса пера (Ref #43)
43
Part #59C-23469-00-00
-
-
Цена: 2 070.00 р.
Доступно: 0
-
-
-
Цена: 2 650.00 р.
Доступно: 4
-
-
-
Цена: 2 270.00 р.
Доступно: 4
-
-
15278-23181-50-00
Bolt, Hexagon Socket Head
1Replaced by 3D8-23181-00-00 Доступно: Нет в наличии
