Fender
Fender
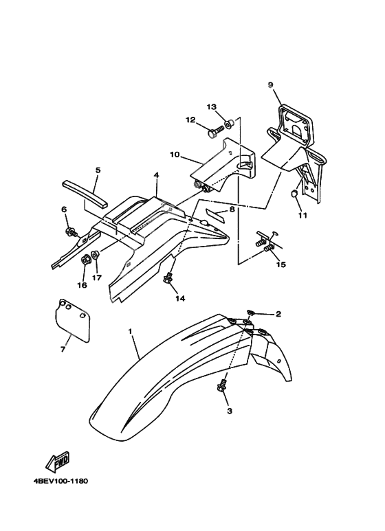
Fender, front (Ref #1)
1
Part #4BE-21511-00-00
COLLAR (Ref #2)
2
Part #90387-06857-00
Screw, With Washer (Ref #3)
3
Part #90119-06063-00
Fender,rear (Ref #4)
4
Part #999-99032-84-00
DAMPER (Ref #5)
5
Part #3RW-21639-00-00
Screw, With Washer (Ref #6)
6
Part #90119-06152-00
Screw, With Washer (Ref #6)
6
Part #97017-06016-00
FLAP (Ref #7)
7
Part #34X-21691-00-00
Emblem (Ref #8)
8
Part #3WF-2153E-70-00
Bracket, license (Ref #9)
9
Part #4BE-84551-00-00
Амортизатор (Ref #10)
10
Part #4BE-84527-00-00
Демпфер 2 (Ref #11)
11
Part #42U-21639-00-00
Bolt, Hexagon (Ref #12)
12
Part #970-17060-25-00
COLLAR (Ref #13)
13
Part #90387-07391-00
BOLT (Ref #14)
14
Part #95817-06016-00
Clamp, wire (Ref #15)
15
Part #4BE-21637-00-00
Nut, flange (Ref #16)
16
Part #95317-06600-00
-
690119-06056-00
Screw, With Washer
2Replaced by 97017-06016-00 Доступно: Нет в наличии
