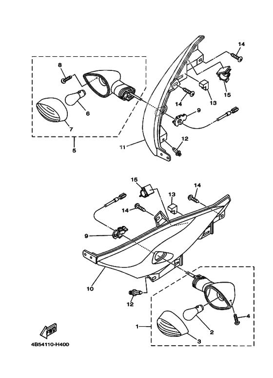
Flasher Light
Flasher Light
Front Flasher Light Assy 1 (Ref #1)
1
Part #2C0-83310-10-00
Bulb (12V-21/5W) (Ref #2)
2
Part #1A2-84714-50-00
Lens Comp 1 (Ref #3)
3
Part #2C0-8333A-10-00
Винт (Ref #4)
4
Part #97702-40010-00
Front Flasher Light Assy 2 (Ref #5)
5
Part #2C0-83320-10-00
Lens Comp 2 (Ref #7)
7
Part #2C0-8334A-10-00
Крепление сигнала 1 (Ref #9)
9
Part #2D1-83318-00-00
Крепление сигнала 1 (Ref #9)
9
Part #2D1-83318-00-00
Крепление сигнала 1 (Ref #9)
9
Part #2D1-83318-00-00
Крепление сигнала 1 (Ref #9)
9
Part #2D1-83318-00-00
Держатель проводки (Ref #10)
10
Part #4B5-2834G-00-00
Держатель проводки (Ref #11)
11
Part #4B5-2834H-00-00
RIVET (Ref #12)
12
Part #90269-06001-00
RIVET (Ref #12)
12
Part #90269-06001-00
RIVET (Ref #12)
12
Part #90269-06001-00
RIVET (Ref #12)
12
Part #90269-06001-00
Амортизатор (Ref #13)
13
Part #4B5-8338V-00-00
Амортизатор (Ref #13)
13
Part #4B5-8338V-00-00
Амортизатор (Ref #13)
13
Part #4B5-8338V-00-00
Амортизатор (Ref #13)
13
Part #4B5-8338V-00-00
CLAMP (Ref #15)
15
Part #90464-13004-00
CLAMP (Ref #15)
15
Part #90464-13004-00
CLAMP (Ref #15)
15
Part #90464-13004-00
CLAMP (Ref #15)
15
Part #90464-13004-00
-
92C0-83318-00-00
Крепление сигнала
2Replaced by 2D1-83318-00-00 Доступно: Нет в наличии
